Công nghệ cảm biến vân tay của iPhone 8 sẽ không còn cần tích hợp phía dưới nút Home mà nằm ngay phía dưới màn hình.

Công nghệ cảm biến vân tay trên iPhone 8 sẽ là bước đột phá mới
Để đánh dấu chặng đường 10 năm ra mắt iPhone đầu tiên, Apple sẽ trang bị hàng loạt những công nghệ tiên tiến nhất hiện nay, đáng kể nhất là công nghệ cảm biến vân tay. Theo tin rò rỉ, iPhone 8 sẽ loại bỏ phím Home phía trước màn hình, màn hình không viên và máy có khả năng nhận diện vân tay người dùng ngay cả khi chưa bật màn hình.
Màn hình iPhone 8 theo dự đoán sẽ là cuộc cách mạng của Apple. Theo tin đồn, thiết bị sẽ có thể loại bỏ phím Home phía trước để nhường chỗ hoàn toàn cho màn hình. Viền benzel sẽ được làm mỏng một cách tối đa.

Thiết kế không viền màn hình khiến các công nghệ khác phải thay đổi phù hợp
Sẽ không giống Samsung đưa cảm biến vân tay ra phía mặt lưng như Galaxy S8, iPhone 8 sẽ được tích hợp thẳng vào màn hình. Rất có thể, Apple sẽ trang bị thêm một màn hình phụ có chức năng hoạt động như một tổ hợp phím chức năng. Ngoài ra, công ty còn đang tìm cách tích hợp cảm biến, bộ quét vân tay vào trong màn hình nhưng không làm tăng kích cơ hay tiêu tốn thêm năng lượng.

Toàn bộ phím vật lý sẽ được tích hợp vào một màn hình phụ của iPhone 8
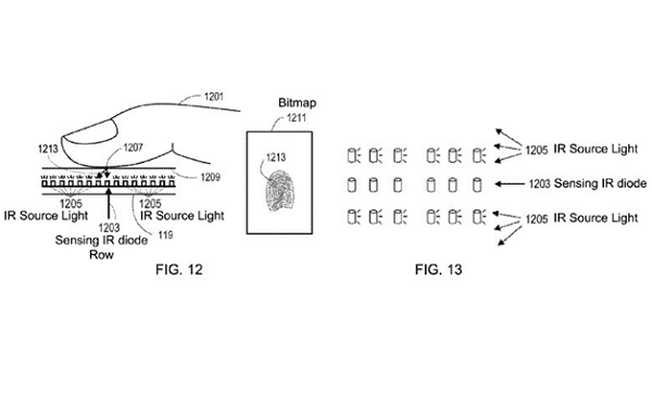
Bằng sáng chế mang số hiệu 9.570.002 được lộ diện hôm thứ 3 ngày 14 tháng 2 vừa rồi có tựa đề: Tấm màn hình tương tác với diot IR, mô tả cụ thể về một công nghệ có thể giúp những tấm nền màn hình khả năng vừa hiển thị thông tin, vừa quét vân tay mà không cần nhờ đến cảm biến TouchID như cách làm thông thường hiện nay.

Bằng sáng chế mô tả công nghệ cảm biến vân tay ngay phía dưới màn hình
Trong mô tả chi tiết, công nghệ cảm ứng vân tay có khả năng quét được vân tay ngay cả khi màn hình đang tắt. Công nghệ này thuộc về một công ty con của Apple đã được mua lại năm 2014 có tên là LuxVue.
Ngày càng có nhiều nguồn tin khẳng định iPhone 8 sẽ sử dụng màn hình công nghệ AMOLED nhằm cho ra mắt những sản phẩm mỏng, nhẹ và tiết kiệm năng lượng tốt hơn. Đó cũng là tiền đề giúp công nghệ cảm biến vân tay mới được tích hợp trên iPhone 8.
Nguồn: Tổng hợp