
![]() | ![]() |
Ford sáng chế đèn gắn vào la-zăng để giám sát áp suất lốp
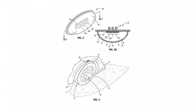
Nền tảng trong ý tưởng của hãng xe Blue Oval là hệ thống đèn LED màu đỏ, xanh lá cây và xanh dương trên mỗi bánh xe. Bằng cách pha trộn cường độ, các đèn này có thể tạo ra bất kỳ màu sắc ánh sáng nào. Bằng sáng chế của Ford mô tả đèn có thể được dùng như một thiết bị giám sát áp suất lốp thứ cấp. Hệ thống sẽ chiếu ánh sáng màu đỏ trên lốp xe nếu chủ sở hữu cần phải bơm ngay lập tức. Ánh sáng vàng sẽ cho thấy áp suất quá cao và màu xanh lá cây có nghĩa là mọi thứ đều ổn. Hơn nữa, đèn cũng sẽ chiếu sáng khu vực lân cận khi bơm lốp để quá trình này diễn ra thuận lợi hơn, đặc biệt là vào ban đêm. Nhà sản xuất ô tô Mỹ thậm chí còn có ý tưởng sử dụng vật liệu phát quang trên lốp xe.
Tương tự như đèn trên gương ngoại thất trong một số mẫu xe của Ford, công ty mô tả việc sử dụng hệ thống đèn ở bánh xe như là yếu tố chiếu sáng rộng rãi hơn cho phần hông xe. Công ty thậm chí còn nghĩ về một phiên bản công nghệ mà có thể phát hiện chìa khóa từ xa đang ở gần và tự động sáng. Ngoài ra, công ty cũng cho biết loại đèn này có thể hữu ích trong khi lái xe. Khi người lái xe bật xi-nhan, đèn này có thể chiếu sáng khu vực mặt đường thích hợp để cung cấp tầm nhìn rõ hơn. Bên cạnh đó, đèn ở bánh xe cũng có thể được dùng như phiên bản mở rộng của xi-nhan.
Trong bối cạnh nhiều bằng sáng chế mô tả các công nghệ khó có thể giới thiệu ngay ở thời điểm hiện tại, đây dường như là một phát minh có thể trực tiếp tận dụng sự tiến bộ của công nghệ hiện tại. Không có bất kỳ trở ngại lớn nào cản trở Ford giới thiệu ý tưởng này. Hệ thống sẽ vô cùng hữu ích khi cung cấp thêm một cách để mọi người có thể biết liệu lốp xe của mình có đang ở đúng áp suất hay không.
Nguồn: Banxehoi.com - VK lược dịch

