LG giành được bằng sáng chế về smartphone màn hình gập với hai viên pin

LG Electronics đã giành được bằng sáng chế về mô hình mẫu smartphone thông minh có màn hình gập với hai viên pin của Tổ chức Sở hữu Trí tuệ Thế giới vào ngày 5/4 vừa qua.

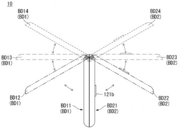
Theo nguồn tin chia sẻ, LG đã nộp bản đăng ký về mẫu smartphone độc đáo này của mình vào khoảng thời gian 9/2016 tuy nhiên tới ngày 5/4/2017 bản đăng ký này mới được thông qua. Nhìn vào mô hình được chia sẻ, mẫu smartphone này sẽ có hai màn hình gập được kết nối với nhau qua bản lề kết nối và sở hữu tới hai viên pin. 

Điều đặc biệt là hai màn hình này có thể hiển thị tương đối độc lập mà không cần phụ thuộc vào nhau. Ngoài ra jack cắm tai nghe 3.5 mm vẫn được tích hợp tại thiết bị.

Thiết bị này cũng được trang bị cụm camera kép được sắp xếp ở 1 trong 2 màn hình. Máy quét vân tay quang học sẽ được tích hợp luôn vào bảng điều khiển của máy.

Theo AndroidHeadlines, mẫu smartphone màn hình gập này của LG nhiều khả năng có hoạt động gần giống với mẫu smartphone hai màn hình Axon M của ZTE. Có nghĩa là khi gập hai màn hình lại thì người dùng có thể sử dụng nó như một màn hình mở rộng. Trong 2 màn hình mà thiết bị sở hữu sẽ có 1 màn hình là màn hình phẳng và một màn hình là màn hình cong. Với thiết kế này, LG sẽ khiến cho sản phẩm khi gấp lại sẽ có sự liền mạch hơn và đồng thời che dấu được bản lề kết nối giữa hai màn hình.

dẫn lại, thiết bị này có nhiều tính năng gợi nhớ đến chiếc Axon M của ZTE, bao gồm khả năng có hai màn hình hoạt động như một chiếc điện thoại bình thường khi xếp lại, chúng ta cũng có thể sử dụng một màn hình như một phần mở rộng.

Hình ảnh trên cho thấy, người dùng cũng có thể biến 1 màn hình thành bàn phím ở chế độ nằm ngang để dễ dàng thao tác hơn. Các thông tin sẽ được hiển thị ngay tức thời tại các cạnh của màn hình cong.

Đây là những hình ảnh về mô hình chiếc điện thoại thông minh vô cùng độc đáo của LG.

TIN LIÊN QUAN

Samsung đã giành được bằng sáng chế về smartphone màn hình gập ở Mỹ

Theo cơ sở dữ liệu của USPTO thì vào ngày 30/03, Samsung đã giành được bằng sáng chế cho một thiết kế mới cho thiết bị điện tử di động có một phần có thể gập được gắn với thân chính thiết bị với bản lề.

Mở hộp smartphone Asanzo S5

Asanzo S5 có pin lớn tới 4.000 mAh cho thời gian sử dụng lên tới 2 ngày theo lý thuyết với giá 2,99 triệu đồng .

Honor 7A, smartphone giá rẻ sở hữu màn hình viền siêu mỏng.

Chiếc smartphone mới được Huawei công bố - Honor 7A mới đây đã chính thức được bày bán tại Trung Quốc. Honor 7A sở hữu màn hình có kích thước 5,7 inch với tỉ lệ 18:9 và có độ phân giải 720x1440 pixel. Máy sử dụng chip xử...

Lộ ảnh smartphone chuyên game Xiaomi Black Shark

Lộ ảnh s martphone chuyên game Xiaomi Black Shark Xiao k hông chỉ ra mắt model Mi MIX 2S mà sắp tới hãng còn dự kiến ra mắt thêm model Black Shark - smartphone chuyên dụng dành cho các game...

Samsung đang tích cực giành lại thị phần bị mất tại Trung Quốc

Samsung gần đây đã ra mắt 4 camera đầu tiên trên thế giới Galaxy và Galaxy A6s với giá khởi điểm tương ứng là 3.499 NDT và 1.799 NDT tại Trung Quốc. Chiếc Galaxy A6s với giá thấp hơn được cho là đã nhận những phản ứng tích cực từ người dùng tại

Cặp smartphone sắp ra mắt Meizu 15 và 15 Plus lộ diện thiết kế mặt trước và sau qua những hình ảnh rò rỉ.

Mới đây, bộ đôi smartphone sắp ra mắt nhà Meizu là Meizu 15 và 15 Plus vừa bị rò rỉ hình ảnh thực tế, cho thấy khá nhiều thông tin về thiết kế cả 2 mặt trước và sau của máy. Những hình ảnh rò rỉ là do trang Gsmarena chia...

Smartphone đầu tiên sở hữu 3 camera, 2 cảm biến vân tay

Ngoài 2 mẫu smartphone siêu phẩm P20 và P20 Pro được Huawei giới thiệu tại một sự kiện tổ chức tại Paris, Pháp, hãng sản xuất Trung Quốc này cung công bố kèm theo một smartphone đặc biệt khác với tên gọi Porsche Edition Mate RS. ...

Nubia ấp ủ mẫu smartphone có màn hình viền mỏng nhất từ trước đến nay

Trang Gizmochina vừa đăng tải một bản vẽ được cho là của chiếc Nubia thế hệ mới. Dựa theo bản vẽ này thì mẫu Nubia tới đây sẽ có mặt trước viền màn hình siêu mỏng, bị khuyết một phần cho camera trước trên đỉnh giống như chiếc Essential Phone.

THỦ THUẬT HAY

Giải pháp sửa chữa lỗi máy tính bật không lên khi ở chế độ ngủ đông Hibernate

Máy tính của bạn ở chế độ ngủ đông và giờ không thể khởi động lại. Rất có thể là do máy bạn hết pin bởi máy tính vẫn tiêu thụ pin ngay cả khi đã tắt. Ví dụ, nếu máy còn 20% pin và bạn đã tắt hẳn máy, pin vẫn có thể cạn

3 mẹo hay khi chụp ảnh bằng điện thoại Samsung

Ngày nay, điện thoại thông minh có kích thước ngày một lớn hơn. Do đó, việc sử dụng điện thoại để chụp ảnh bằng một tay có thể là thao tác vô cùng khó khăn, nhất là với những người có bàn tay nhỏ. Do đó, bạn có thể tìm

kiểm tra khu vực phủ sóng của Vietnamobile trước khi quyết định mua "Thánh SIM" 3G

Ngoài đo đạt tín hiệu của Vietnamobile ở khu vực đang sinh sống, bạn còn có thể kiểm tra cả vùng đã phủ sóng của các nhà mạng Mobi, Viettel và Vinaphone. Mẹo dù nhỏ, nhưng cực hữu ích với người dùng có nhu cầu trang bị

Facebook group và Facebook page trong marketing online

Ngày nay, các group và các page trên Facebook đã, đang và sẽ trở thành những miếng bánh béo bở trong các dịch vụ quảng cáo trực tuyến mang lại khoản lợi nhuận kếch xù cho các nhà marketing và các chủ doanh nghiệp.

Những tính năng mới trên bản Liên Quân Mobile 4.0 mà bạn nên biết

Liên Quân vừa tung bản cập nhật 4.0 với giao diện mới mẻ. Sau đây mình sẽ giới thiệu những tính năng mới Liên Quân Mobile 4.0 và cách chơi mượt mà nhất

ĐÁNH GIÁ NHANH

Đánh giá loa Bluetooth Tronsmart T6 Pro: Thiết kế đẹp, chống nước tốt, chơi nhạc hay, công suất khủng

Tronsmart T6 Pro là một chiếc loa di động sở hữu thiết kế ấn tượng, công suất chơi nhạc khủng, rất nhiều tính năng, các cổng kết nối đầy đủ, pin 'trâu' có cả khả năng sạc ngược cho thiết bị khác và âm thanh sôi động

Video đánh giá chi tiết laptop Acer Aspire VX 15

Chiếc laptop chuyên chơi game Acer Aspire VX 15 vừa được Acer ra mắt tại CES 2017, dưới đây là video đánh giá chiếc laptop này.

So sánh Samsung Galaxy Watch4 và Watch4 Classic

Bộ đôi Galaxy Watch4 và Watch4 Classic vừa được Samsung trình làng vào giữa tháng 8 vừa qua. Đây cũng là hai smartwatch thế hệ mới nhất của hãng. Vậy giữa hai thiết bị này có gì khác biệt? Hãy cùng chúng tôi so sánh