Vừa qua, Apple mới đăng ký một bằng sáng chế mới về một chiếc bàn phím có thể chống bụi với cơ chế thổi bụi đăck biệt mổi lần ấn phím.

Chúng ta luôn biết rằng giá bán các sản phẩm của Apple luôn cao hơn các đối thủ khác, vì sản phẩm của họ có chuẩn mực và thiết kế chính xác rất cao. Chỉ cần một hạt bụi rơi vào thiết kế cũng có khả năng khiến trải nghiệm của sản phẩm bị giảm, ví dụ điển hình nhất là bàn phím trên các thế hệ Macbook mới. Vì thiết kế mỏng nên bàn phím được tối ưu một cách mỏng và nhỏ, nhưng sẽ bị cấn nếu bị các hạt bẩn rớt vào.
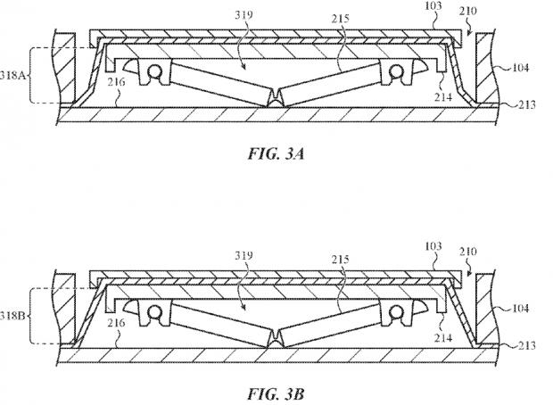
Tuy nhiên, có thể tương lai chúng ta sẽ không còn lo lắng về những vấn đề này nữa khi mà Apple vừa đăng kí bằng sáng chế mới về cơ chế chống bụi của bàn phím. Qua đó, mổi lần người dùng gõ phím sẽ tạo ra luồng khí thổi các hạt bụi nằm ở dưới bàn phím ra ngoài. Cơ chế này rất đặc biệt giúp cho bàn phím luôn được sạch sẽ.
Bằng sáng chế cho biết rằng: “Một bàn phím sẽ gồm các thành phần: một bảng nền, một nút nhấn, và một cấu trúc bảo vệ gắn liên vời nút nhấn nhằm ngăn bụi bẩn lọt vào cơ chế chuyển động”.
Bằng sáng chế này chưa biết khi nào sẽ được Apple áp dụng vào các sản phẩm của mình. Nhưng điều đó cho thấy rằng Apple vẫn đang cố gắng mang lại trải nghiệm tốt nhất cho những sản phẩm mà Apple tạo ra.
VuBeu
Theo: Theverge