Ngay trong hôm nay, mạng xã hội lớn nhất hành tinh vừa đăng kí bằng sáng chế về một tính năng mới toanh. Được biết tính năng này nếu khả thi sẽ trở thành một phương tiện hữu ích cho người dùng trong mảng giao thông, và cạnh tranh với Uber, GrabTaxi trong tương lai

Cụ thể, tính năng đi nhờ xe này phụ thuộc vào tiện ích Sự kiện (Events) trên Facebook. Nếu một ai đó muốn tham gia vào một sự kiện được tổ chức qua kênh Facebook, họ có thể đánh dấu mình có xe để chia sẻ chuyến đi, hoặc họ có thể chọn đi nhờ xe của những người chia sẻ.

Tính năng Events là một tính năng được Facebook ấp ủ, đầu tư phát triển nhiều trong thời gian gần đây. Facebook cho biết thời điểm này, hiện có 500 triệu người sử dụng tính năng Sự Kiện mỗi tháng và có tổng cộng 123 triệu sự kiện được tạo ra trong năm 2015. CEO Mark Zuckerberg chia sẻ rằng Facebook đang có kế hoạch tích hợp nhiều dịch vụ vận chuyển lên Messenger trong năm nay, sau sự thành công của việc tích hợp Uber vào chương trình nhắn tin của họ.

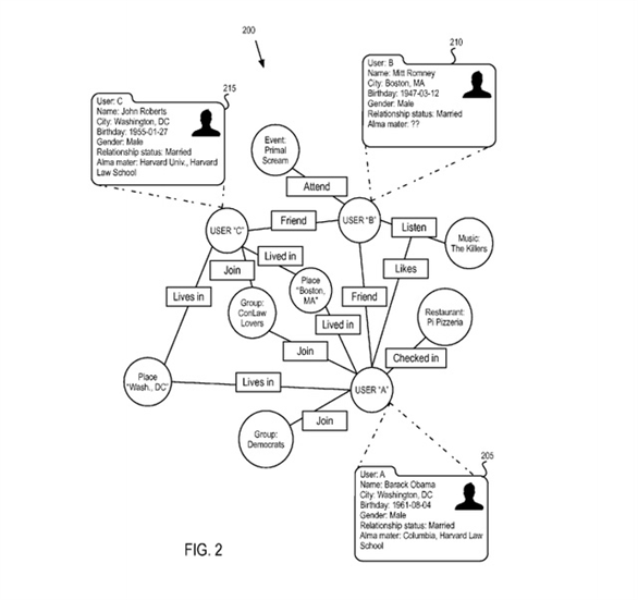
Vẫn chưa rõ Facebook sẽ triển khai tính năng này sớm hay không nhưng đây là một giải pháp khá hay cho những ai muốn giảm thiểu chi phí đi lại với bạn bè hoặc người lạ. Facebook sẽ liệt kê những thông tin của cả hành khách và tài xế như trường học, gu âm nhạc, đang tham gia vào nhóm nào (Groups), để mọi người có thể chọn lựa bạn đồng hành đến sự kiện phù hợp với mình. Một khi đã thống nhất về hành khách trên xe, lộ trình sẽ được hiển thị trên màn hình.

Nghe có vẻ hấp dẫn cho những người dùng muốn kết giao bạn mới, giảm thiểu chi phí trong thời đắt đỏ mà vẫn tiện lợi và sành điệu. Tuy nhiên, những dịch vụ đi nhờ xe khác (Uber, GrabTaxi….) có thể sẽ không thích điều này!