
Về cơ bản, đây sẽ là công nghệ giúp điện năng được chuyền từ đế sạc tới pin của thiết bị qua 'không khí' mà không cần phải đặt thiết bị đó trên trên đế sạc như công nghệ sạc không dây hiện nay.
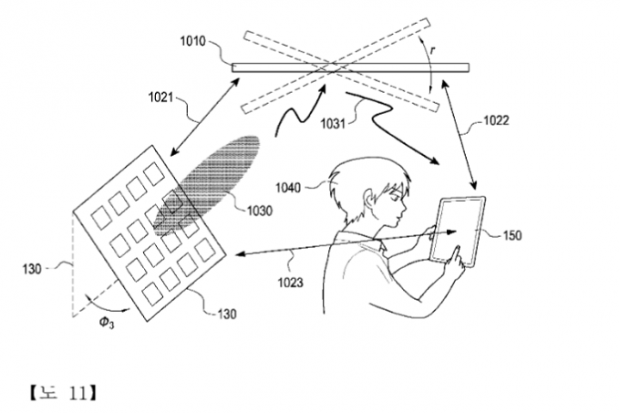
'Không khí' mà chúng ta đang nói ở đây là một phạm vi giới hạn của một dạng điện từ hoặc công nghệ nào đó giúp điện năng có thể được truyền dẫn qua không khí. Trong các bản vẽ của hồ sơ sáng chế, Samsung mô tả một phương pháp tập trung năng lượng tới thiết bị cần sạc pin trong một căn phòng có trang bị thiết bị sạc không dây OTA (over-the-air). Với hệ thống này, thiết bị có thể được sạc điện ngay cả khi người dùng đang cầm thiết bị và di chuyển tự do trong phòng. Điều này có được là do các bộ phản chiếu (reflector) giúp đưa tín hiệu sạc chạy vòng quanh các vật cản có thể để bao phủ toàn bộ không gian bên trong diện tích của phòng.
Đây rõ ràng là một công nghệ hết sức tiện dùng và theo dự báo thì hoàn toàn có thể được áp dụng vào thực tế (thương mại hóa) trong vòng từ 3 đến 5 năm tới. Hiện tại chưa thể rõ hãng công nghệ nào sẽ đến đích trước tiên với công nghệ sạc không dây qua không khí này nhưng chúng ta có thể lạc quan rằng, càng có nhiều nhà sản xuất quan tâm hơn thì người dùng càng nhanh chóng được hưởng lợi từ công nghệ mới hơn.
Theo: phoneArena