
Kể từ đó, chính sách của Apple về sở hữu trí tuệ là sẽ lấy bằng sáng chế mọi thứ họ tạo ra thậm chí cả khi họ chưa đưa ra sản phẩm cuối cùng.
Được biết, Apple liên tục nộp bằng sáng chế và bảo vệ chính mình. Nhưng vì nhiều ý tưởng của Apple chưa được công bố nên sẽ rất thú vị khi xem một số ý tưởng đổi mới độc đáo của Apple.
Trang Business Insider đã nhận được sự cho phép của PatentlyApple và Văn phòng Thương hiệu và Sáng chế Mỹ để sử dụng những hình ảnh bằng sáng chế dưới đây.
1. Công nghệ hiển thị xúc giác (Tactile Display Technology)
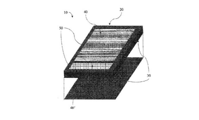
Hãy tưởng tượng bạn có thể sử dụng thiết bị mà không cần nhìn vào nó. Đó là ý tưởng đằng sau công nghệ màn hình xúc giác tiên tiến của Apple mà công ty lấy bằng sáng chế vào tháng 5 năm 2012.
Sử dụng màn hình OLED và một số cảm biến và các mạng truyền động đầu từ hoạt động cùng một lúc, hệ thống đa tầng phức tạp của Apple dựa trên một số lớp màn hình đàn hồi được xếp chồng trên đầu mỗi lớp mà có thể tạo ra các nút hoặc các đối tượng 3D hay cung cấp hình ảnh giống như bản đồ địa hình bất cứ khi nào một chương trình hay ứng dụng yêu cầu nó. Hệ thống này cũng có thể phản ứng với cảm ứng vật lý của một người và phân biệt giữa việc tiếp xúc nhẹ và mạnh với bề mặt của màn hình.
2. Kính không vỡ (Crack-Proof Glass)
Được cập tháng 11 năm 2011, bằng sáng chế của Apple cho kính không vỡ liên quan đến giải pháp kính alumino silicat được sử dụng trong iPhone 4 và 4S với các ion kali và natri, giúp kính đạt được ngưỡng nén lớn hơn trên bề mặt và các cạnh.
Bằng sáng chế này còn gồm một tính năng tiện lợi. Cụ thể, sẽ có một khung chống shock được gắn giữa kính và vỏ kim loại của thiết bị. Khi máy gia tốc bên trong thiết bị cảm nhận máy đang rơi chiếc khung này ngay lập tự bơm phồng và hút trong kính bọc ngoài. Do đó thiết bị có thể không bị hư hại.
3. iWallet
Mặc dù Apple hiện đang mở rộng công nghệ ID Touch giúp việc mua bán trở nên dễ dàng trên iPhone 5S, nhưng gã khổng lồ công nghệ còn thiết kế một hệ thống kỹ thuật số hoàn chỉnh cho phép người dùng kiểm soát các tài khoản tài chính và các giao dịch trực tiếp trên iPhone.
Bằng sáng chế cho 'iWallet' được cấp cho Apple vào tháng 3 năm 2012, cũng có thể cho phép người dùng dễ dàng nhìn thấy toàn bộ hồ sơ thẻ tín dụng và xem báo cáo và tin nhắn từ các ngân hàng. Và nếu một đứa trẻ sở hữu một chiếc iPhone thì Apple sẽ tạo ra các điều khiển của cha mẹ để họ có thể thiết lập giới hạn chi tiêu cho con cái và thậm chí yêu cầu sự cho phép của phụ huynh thông qua thiết bị riêng của họ.
4. Người bạn đồng hành mua sắm ảo (Virtual Shopping Companion)
Những năm trước khi Amazon công bố công nghệ Firefly, Apple đã thiết kế một bằng sáng chế cho một ứng dụng gọi là ' Products+”. Nó có thể quét hàng hóa trong bất kỳ cửa hàng để tìm hiểu thêm thông tin về sản phẩm.
Mặc dù bằng sáng chế của Apple tập trung vào việc sử dụng công nghệ giao tiếp trường gần (NFC) nhưng dường như Apple sẽ triển khai bằng sáng chế này dưới dạng thức hiện tại, vì không thiết bị nào trong số các thiết bị hiện nay sử dụng công nghệ NFC. Apple đã có thể giải quyết công nghệ trường gần với WiFi và iBeacons. Chúng là các kết nối Bluetooth thân thiện với pin có thể hiển thị tin nhắn trên thiết bị di động. Nói cách khác, chúng ta vẫn có thể thấy công nghệ này trở thành hiện thực.
5. Nhiếp ảnh 3-D
Amazon có thể đã vượt quan Apple để có mẫu điện thoại thông minh '3-D' đầu tiên, nhưng một thiết bị trong tương lai của Apple cũng có thể cho phép người dùng chụp hình ảnh ba chiều, nhờ một bằng sáng chế máy ảnh được cấp vào cuối tháng 3 năm 2012.
Có rất nhiều máy ảnh hình ảnh và video 3-D có thể thu thập thông tin ba chiều từ các đối tượng nhưng các thiết bị đó không có khả năng thu thập đủ thông tin chi tiết liên quan đến hình dạng, bề mặt và chiều sâu của các đối tượng để làm chụng thực sự giống 3-D.
Giải pháp của Apple liên quan đến bộ cảm biến và máy ảnh: Một cảm biến sẽ chụp một hình ảnh đang phân cực, trong khi hai bộ cảm biến khác sẽ chụp hai hình ảnh không phân cực khác nhau, và hệ thống của Apple sẽ kết hợp các hình ảnh lại.
6. Các hình ảnh ba chiều tương tác (Interactive Holograms)
Khái niệm về hình ảnh ba chiều đã phổ biến kể từ khi công chúa Leia ghi nhận tín hiệu cấp cứu 3-D với R2-D2. Nhưng Apple muốn một hình ảnh ba chiều mà bạn chỉ có thể nhìn thấy bằng cách làm cho chúng tương tác.
Trong một bằng sáng chế được đệ lên vào tháng 10 năm 2012, Apple đã tạo ra một hệ thống cho phép bạn tương tác với hình ảnh được chiếu mà sẽ xuất hiện giữa không trung, thậm chí cho phép bạn kiểm soát và thao tác các đối tượng ảo với thao tác vuốt màn hình và người dùng cử chỉ người iOS thường quen làm.
Hệ thống hiển thị ảnh ba chiều này có thể quá phức tạp cho các thiết bị di động nhỏ, nhưng có lẽ chúng ta sẽ thấy nó nếu Apple quyết định xâm nhập vào trong với một số phần cứng mới, theo Mark Gurman của 9to5Mac.
7. Liquidmetal
Trong năm 2010, Apple đã mua bản quyền trên toàn thế giới độc quyền cho một vật liệu thú vị mới thuộc sở hữu bởi một công ty có cùng tên: Liquidmetal. Vật liệu là hợp kim cực kỳ mạnh mẽ, rất l lý tưởng cho các thiết bị tiêu dùng vì nó có khả năng chống bị trầy xước và ăn mòn tuyệt vời.
Hai năm trước đây, Giám đốc điều hành của công ty Liquidmetal Technologies đã nói rằng Apple đang sử dụng hợp kim này trong một số sản phẩm hiện tại nhưng từ chối nói rõ hơn. Một số người cho rắng nó đang được sử dụng với công suất tối thiểu, nhưng một điều chắc chắn: Apple vẫn chưa sử dụng vật liệu mày để tạo ra toàn bộ sản phẩm. Atakan Peker- nhà phát minh Liquidmetal California cho hay điều này sẽ là một bức đột phá.
Theo một bằng sáng chế được đưa ra vào tháng 5 vừa qua, Apple đang nghiên cứu việc tích hợp kính cho một gờ kim loại. Điều này sẽ làm cho thiết bị iPhone cực kỳ mạnh mẽ, ít nhất là về mặt cấu trúc. Bằng sáng chế cho biết Apple cũng sẽ sử dụng một loại kính hiển thị mới. Theo đó, Apple đang gặp khó khăn trong công việc sản xuất màn hình sapphire từ nhà máy mới ở Arizona.
8. Bản đồ tương tác thông minh
Apple có thể không bao giờ hoàn toàn bắt kịp với Google khi nói đến việc lập bản đồ thế giới vật lý trên một giao diện kỹ thuật số, nhưng một bằng sáng chế được công bố trong tháng 12 năm 2013 cho thấy Apple có thể giới thiệu một số ý tưởng khác nhau về ứng dụng bản đồ của riêng mình.
Theo Apple Insider, giải pháp 'bản đồ tương tác' của Apple sẽ đưa ra một hệ thống các lớp động lực tùy chỉnh mà chỉ có thể hiển thị thông tin như nó cần, do đó phần còn lại của bản đồ không còn lộn xộn và quá nhiều thông tin. Ví dụ, nếu bạn chạm vào hai điểm trên bản đồ, Apple Maps có thể tạo ra các tuyến đường khác nhau và hiển thị cho bạn tất cả những nơi chính dọc tuyến đường. Còn nếu bạn chạm vào một con đường lớn hoặc đường cao tốc, bạn sẽ thấy nhà hàng và các doanh nghiệp khác mà bạn có thể tìm thấy dọc theo tuyến đường đó.
9. Xe đạp Apple
Apple có máy vi tính, điện thoại, máy tính bảng, và có thể sớm một chiếc đồng hồ. Nhưng họ có thể tung ra mẫu xe đạp. Được biết, năm 2010, công ty đã nộp đơn xin cấp bằng sáng chế. Theo đó, một mẫu xe đạp thông minh có thể giao tiếp với thiết bị di động để có được các thông tin phản hồi về tốc độ, khoảng cách, thời gian, độ cao, độ nghiêng hay nhịp tim.
Apple có đủ các cảm biến trong các thiết bị để tạo ra loại 'xe đạp thông minh' trở thành hiện thực, nhưng họ thậm chí sẽ không cần một chiếc xe đạp: iPhone đã có một máy gia tốc, một cảm biến ánh sáng xung quanh, một cảm biến khoảng cách, một từ kế, một con quay hồi chuyển , và có thể sớm tích hợp máy đo khí áp, sẽ giúp đo nhiệt độ, áp suất không khí và độ cao.
10. iWatch
Theo báo cáo, Apple sẽ phát hành smartwatch vào cuối năm nay, nhưng bằng sáng chế đặc biệt này được công bố vào tháng 2 vừa qua.
Với một màn hình hiển thị linh hoạt và liên tục vừa vặn với cổ tay, Apple đã so với thiết bị của ho với ' vòng đánh tay'. Nó gồm 'các dây đeo thép linh hoạt được bí kín trong lớp vải bọc '. Bằng sáng chế cũng mô tả khả năng kết nối và giao tiếp với thiết bị di động, thậm chí ở mức độ cơ bản, và các tấm năng lượng mặt trời - được gọi là 'tấm thu ánh sáng xung quanh' - trên đồng hồ để tăng tuổi thọ pin của thiết bị. Nếu bạn đang nghĩ tấm pin mặt trời trên một smartwatch nghe có vẻ lạ lung thì Apple đã cập nhật bằng sáng chế năng lượng mặt trời của họ vào tháng trước để bổ sung màn hình cảm ứng đa điểm và linh hoạt.