
![]() |
Mazda sáng chế cánh sau đặc biệt tích hợp vào đèn hậu
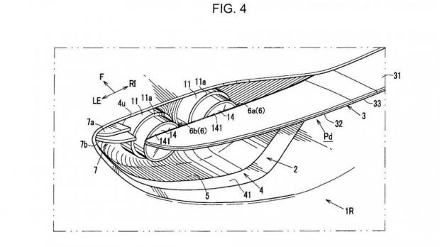
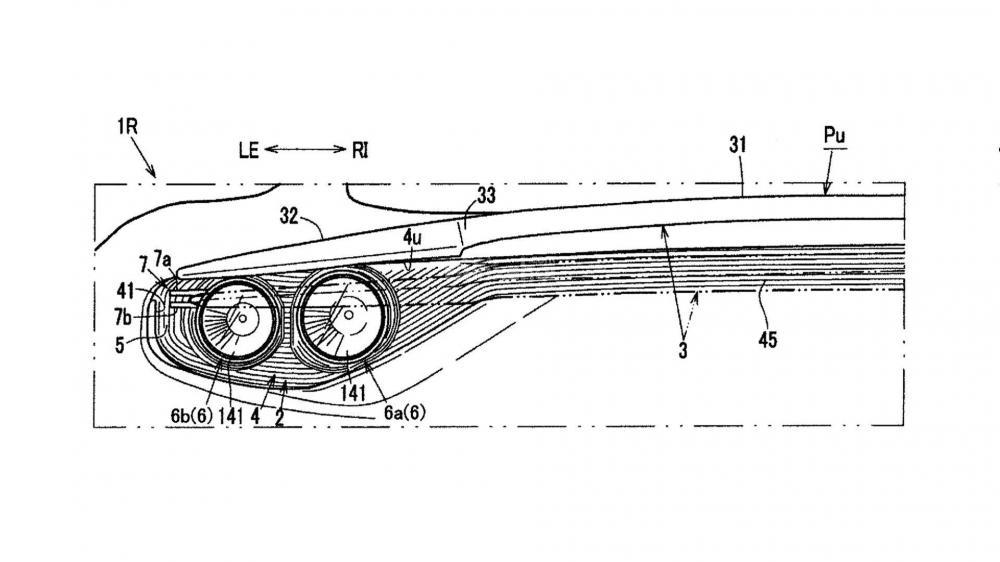
Mazda có tới hai bằng sáng chế mới mô tả cách làm thế nào để cánh sau chủ động của xe có thể thu gọn vào trong đèn hậu khi không sử dụng. Thiết bị khí động học có thể thu vào và lộ ra không phải là điều quá mới mẻ. Tuy nhiên, ý tưởng của hãng ô tô Nhật Bản là cánh sau sẽ mở rộng ra ngoài và hướng lên chứ không phải chỉ nâng lên từ đuôi xe. Mazda nhìn nhận những bằng sáng chế này như một phương pháp giảm luồng khí cản ở phía sau xe và cải tiến thẩm mỹ bằng cách giấu cánh khi không cần thiết. Cánh này sẽ trải dài toàn bộ chiều dài của phía sau xe và các cạnh sẽ chạy qua đèn hậu. Dù vậy, các phần mỏng ở các góc đáng lẽ không nên che khuất quá mức các bóng đèn.
Có một cánh tay hỗ trợ sẽ điều khiển sự di chuyển của cánh vào trong và ra khỏi khu vực chứa ở đèn hậu và hệ thống sẽ xoay cánh lên. Thiết bị này sẽ được giấu kín phần lớn ngay cả khi cánh mở ở mức tối đa. Lúc đó, cánh sẽ làm xe dài hơn và độ nghiêng về phía trên sẽ làm gia tăng lực hướng xuống. Hai bằng sáng chế tập trung vào các yếu tố khác nhau của ý tưởng này đó là khu vực chứa tích hợp ở đèn hậu và cánh có khả năng mở ra. Tuy nhiên, vì những yếu tố này làm việc cùng nhau, các hồ sơ mô tả công nghệ này có các chi tiết trùng nhau. Bằng sáng chế này có vẻ hoàn hảo cho một mẫu xe hiệu suất phong cách và dường như Mazda đã muốn hiện thực hóa ý tưởng này.
So sánh hình ảnh trong hồ sơ sáng chế này với thiết kế phía sau của Mazda RX-Vision concept, cả hai có những nét tương tự ở đuôi xe và cánh mỏng. Phần này có thể mở rộng ra bên ngoài và hướng lên để tạo ra sự tinh chỉnh tinh tế tới tính khí động học của mẫu xe coupe. Người hâm mộ có thể hiểu rõ hơn về cánh tích hợp này khi Mazda trưng bày phiên bản sửa đổi của RX-Vision concept tại triển lãm ô tô Tokyo vào ngày 25/10 tới.
Nguồn: Banxehoi.com - VK lược dịch
