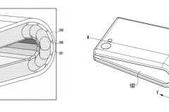
Samsung lên mục tiêu ra mắt điện thoại có màn hình uốn cong vào năm 2018

Koh Dong-jin, người đứng đầu mảng di động của Samsung Electronics, cho biết mục tiêu của công ty đó là ra mắt smartphone với màn hình có thể uốn cong vào năm 2018. 
[thumb]https://cdn.trangcongnghe.vn/uploads/posts/2017-09/samsung-len-muc-tieu-ra-mat-dien-thoai-co-man-hinh-uon-cong-vao-nam-
2018_1.jpg[/thumb]

Tuy nhiên, ông Koh thừa nhận đó chỉ là mong đợi trước mắt, và nói rằng có rất nhiều rào cản cũng như khó khăn mà Samsung sẽ phải giải quyết nếu như muốn hoàn thiện chiếc điện thoại độc đáo này.

Samsung đã nhiều lần chia sẻ các bản mẫu điện thoại có thể bẻ cong, có thể gập lại để biến thành smartphone và mở ra để thành tablet của họ. Được biết, Samsung đã tốn gần 3 năm để phát triển mẫu điện thoại này và có lẽ thời gian nó xuất hiện chính thức đã cận kề.

Nhân dịp này, Koh Dong-jin cũng tiết lộ Samsung đang phát triển loa thông minh có tích hợp trợ lý ảo, có thể vừa phát nhạc vừa thực hiện một số tác vụ thông qua lệnh từ người dùng.

Theo Kansascity

TIN LIÊN QUAN

Samsung đặt mục tiêu doanh số smartphone năm 2018 là 320 triệu máy

Sở dĩ Samsung đặt mục tiêu khá an toàn trong năm 2018 là bởi vì thị trường điện thoại hiện nay đã bão hoà.

Samsung sáng chế "thiết bị điện tử uốn cong"

Samsung nộp lên Cơ quan quản lý tài sản trí tuệ Hàn Quốc bằng sáng chế mô tả điện thoại hai màn hình, có thể gập đôi lại nhờ bản lề lớn. Samsung gọi đây là 'thiết bị điện tử uốn cong', và cách nó gập và bố trí màn hình khác hoàn toàn với chiếc ZTE

Smartphone màn hình dẻo của Samsung có thể sẽ ra mắt vào ngày 7/11 tới đây

Như vậy, đây có thể là động thái với ngụ ý rằng smartphone màn hình dẻo của Samsung sắp ra mắt, có thể là tại Hội nghị dành cho các nhà phát triển Samsung diễn ra từ ngày 7/11 tới đây.

Ngoài smartphone, Samsung còn phát triển tablet có màn hình gập

Theo Phonearena, bằng sáng chế được đệ trình vào tháng 4/2018 tại Hoa Kỳ và bây giờ mới xuất hiện. Bằng sáng chế mô tả một thiết bị có màn hình uốn dẻo, khi mở ra nó sẽ trở thành một tablet truyền thống. Người dùng có thể gập úp màn hình vào nhau

Samsung tự phát triển công nghệ màn hình cảm ứng Y-OCTA cho Galaxy S9: sáng hơn, mỏng hơn, rẻ hơn

Samsung Electronics được cho đã quyết định tích hợp công nghệ cảm ứng Y-OCTA do họ tự phát triển vào màn hình của Galaxy S9 sẽ ra mắt vào năm sau. Y-OCTA hứa hẹn không chỉ giúp màn hình sáng hơn, mỏng hơn mà còn giảm đến 30% chi phí sản xuất.

Mục tiêu bán được 350 triệu smartphone trong năm nay của Samsung khá “xa vời”

Một báo cáo được công bố ngày hôm nay trích dẫn các nguồn tin thân cận với Samsung nói rằng gã khổng lồ công nghệ sẽ không thể hoàn thành mục tiêu bán được 350 triệu điện thoại thông minh vào năm 2018. Bởi thực tế rằng doanh số bán hàng của chiếc

Samsung muốn trở thành nhà sản xuất đầu tiên phát triển smartphone màn hình gập

'Chúng tôi đang tập trung vào việc mang lại những cải tiến mới được người tiêu dùng ưa chuộng, thay vì chỉ trở thành người đi đầu trên thế giới. Còn về mặt điện thoại có thể gập lại, chúng tôi không muốn bỏ lỡ vị trí đầu tiên'. Phát biểu từ ông Koh

Năm 2018, Samsung sẽ có gì mới trong lĩnh vực smartphone

Samsung chắc chắn là hãng smartphone được mong chờ nhiều nhất trong năm 2018 này. Đơn giản vì Samsung đang có những bước phát triển rất ổn định và vững chắc trong những năm qua.

THỦ THUẬT HAY

Một số kinh nghiệm nhỏ để tránh bị lừa đảo trên các ứng dụng di động

Ứng dụng di động ngày nay đã trở nên phổ biến và thiết yếu trong cuộc sống hằng ngày của chúng ta. Tuy nhiên, đi cùng với sự phổ biến của các ứng dụng còn có nạn lừa đảo gây mất an toàn thông tin và tiền bạc cho người

5 bước tăng dung lượng ổ cứng Mac OS X

Việc tăng dung lượng ổ cứng Mac không phải quá khó khăn. Bài viết dưới đây sẽ hướng dẫn bạn 5 bước để tăng dung lượng ổ cứng Mac OS X nhanh chóng, và không còn xuất hiện lỗi “Your startup disk is almost full. You need

WallRoach - Kho hình nền chất lượng cao miễn phí dành cho Android

Hình nền đẹp sẽ gia tăng sự hấp dẫn cho thiết bị mà bạn đang sở hữu. Để đáp ứng nhu cầu này, hôm nay TECRUM sẽ giới thiệu đến bạn đọc ứng dụng WallRoach với rất nhiều wallpaper khác nhau để lựa chọn.

Cách chặn quảng cáo trên Youtube mới nhất 2021

Cùng với sự phát triển của Internet, YouTube đã trở thành website chia sẻ video lớn và phổ biến nhất trên thế giới với hàng tỷ người dùng. Tuy nhiên không có bữa ăn nào là miễn phí, trong quá trình truy cập, bên cạnh

Hướng dẫn cách làm giấy tặng xe online ngay tại nhà cực tiện lợi và nhanh chóng

Bạn đang muốn bán xe hay đơn giản là tặng xe cho một người nào đó. Tuy nhiên, việc làm này thì cần phải có giấy xác thực từ trụ sở công an và cơ quan chức năng của nhà nước. Bạn còn đang e ngại dịch bệnh khi đến các cơ

ĐÁNH GIÁ NHANH

Đánh giá hiệu năng Vsmart Joy 1: Đáp ứng tốt nhu cầu cơ bản, chiến tốt Asphalt 8 đồ họa cao

Snapdragon 435 không phải là một con chip mạnh nhưng nó thực sự nổi bật trong phân khúc 2,5 triệu đồng, cùng với 3GB RAM hiệu năng của Vsmart Joy 1 có thể nói là ấn tượng trong phân khúc.

So sánh thiết kế Sharp Aquos S2 và iPhone X: Những smartphone tiên phong cho xu hướng tràn viền

Trước khi đi vào phần so sánh chi tiết, TCN muốn gửi đến quý độc giả một thông tin. Đó là ngày ra mắt toàn cầu của Sharp Aquos S2 là ngày 8 tháng 8 2017, trong khi đó iPhone X được ra mắt toàn cầu vào ngày 12 tháng 9

Đánh giá thiết bị tìm đồ TrackR bravo: Thời trang và nhạy đến từng centimet

TrackR bravo thật sự là một thiết bị vô cùng lý tưởng giúp bạn tìm vật thất lạc một cách nhanh chóng nhờ kết nối cực nhạy của mình.