Mới đây một hính ảnh cho thấy bằng sáng chế về một chiếc tablet gập lại được của Microsoft, nếu chiếc máy tính bảng này thành hiện thực nó sẽ rất độc đáo.

Đã có rất nhiều kỳ vọng được đặt ra cho Microsoft về một smartphone tiếp theo chạy Windows 10 Mobile. Tuy nhiên, vẫn chưa có bằng chứng cụ thể nào cho thấy rằng sẽ cho ra mắt mẫu smartphone mơi. Trong thời gian gần đây, Microsoft đã liên tục đưa ra bằng sáng chế một tablet gập lại được, vì vậy chúng ta có thể mong chờ một sản phẩm đột phá mới của Microsoft.
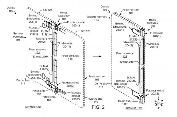
Các hồ sơ đăng ký bằng sáng chế và hình ảnh cho thấy rằng mặc dù nó là một tablet gập lại được, kích thước của nó cũng tương tự như một chiếc điện thoại thông minh hơn một chiếc máy tính bảng. Hình ảnh cho thấy máy tính bảng này có một loạt bản lề giúp cho nó có thể gấp lại ở các mức độ khác nhau.
- 0 độ: Máy ở trạng thái đóng
- 180 độ: Máy trong trạng thái mở phẳng
- 360 độ: Máy hoàn toàn trong trạng thái mở.


Cụ thể hơn, khi ở góc 180 độ, màn hình bên trong sẽ hiển thị giao diện người dùng đơn lẻ. Trong các góc mở khác, mỗi màn hình sẽ hiển thị giao diện riêng của nó. Khi được mở ở góc độ 180 độ, việc sử dụng nam châm sẽ cho phép màn hình hiển thị liền mạch.
Xét về kích thước của thiết bị có thể chỉ ra rằng đó sẽ là thiết bị có kích thước smartphone thay vì máy tính bảng thông thường. Vì vậy đây sẽ là máy tính bảng phù hợp cho việc di chuyển và cầm nắm hơn, cũng có thể gọi đây là smartphone cũng không sai.
Điều thú vị cần lưu ý là trong năm 2009, một video về một thiết bị cho tương lai giống như tablet của Microsoft. Mặc dù nó có vẻ là một bản concept và khó thực tế được vào lúc đó. Tuy nhiên công nghệ phát triển rất nhanh và bạn sẽ không thể nói trước điều gì.
Theo Gizmochina