Tại Hội nghị nhà phát triển Samsung diễn ra vào tuần trước, nhà sản xuất Hàn Quốc đã giới thiệu 4 công nghệ màn hình mới. Một trong số đó là Infinity-O – công nghệ màn hình với một lỗ trên màn hình để chứa camera selfie.
Bây giờ, một bằng sáng chế mới xuất hiện của Apple đã cho thấy thiết kế tương tự.

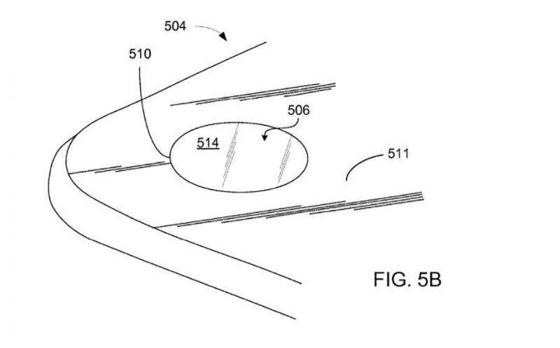
Cụ thể, theo thông tin được chia sẻ từ trang Gizmochina, Apple mới đây vừa đăng ký bằng sáng chế cho thấy một chiếc iPhone có thiết kế lỗ trên màn hình để chứa camera selfie của máy. Bằng sáng chế này có tiêu đề “Cửa sổ camera tích hợp” và nó được nộp tại Văn phòng Sáng chế và Nhãn hiệu Hoa Kỳ vào tháng 6.
Các hình ảnh đính kèm cho thấy camera trước sẽ nằm ở góc trên cùng bên phải, và theo bằng sáng chế thì màn hình sẽ được phủ một lớp kính cường lực hóa học để đem tới khả năng chịu lực tốt hơn.

Các mô tả bằng sáng chế là khá chi tiết và bạn có thể hãy xem nó ở đây. Có những suy đoán rằng, Apple đang cố gắng làm việc để áp dụng bằng sáng chế mới này cho thế hệ iPhone 2019, nhưng có vẻ như điều này sẽ rất khó để có thể xảy ra. Bên cạnh đó, việc nộp một bằng sáng chế không có nghĩa là nó sẽ trở thành một sản phẩm thương mại.
Theo: Gizmochina
Nguồn : http://cdn.fptshop.com.vn/tin-tuc/tin-moi/lo-bang-sang-che-moi-cua-apple-cho-thay-the-he-iphone-tiep-theo-se-co-lo-tren-man-hinh-76123