Surface Phone sẽ có máy quét vân tay ngay trên màn hình?

Đã khá lâu rồi chúng ta không có thông tin gì về smartphone Windows 10 Mobile tiếp theo của Microsoft, thật may khi hôm nay (18/9) một số tin tức mới đã rò rỉ.

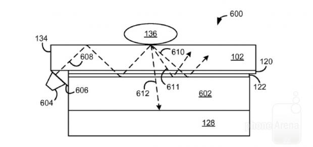
Theo đó một bằng sáng chế mới của Microsoft liên quan đến máy quét vân tay có thể sẽ xuất hiện trên Surface Phone. Hiện nay hầu hết các smartphone đều được đặt máy quét vân tay ở nút home hoặc ở bên cạnh camera chính của thiết bị, nhưng Microsoft đang tìm cách tiếp cận mới.

Cụ thể, theo bằng sáng chế của Microsoft gửi đến WIPO thì cảm biến vân tay sẽ được đặt trực tiếp lên màn hình LCD và OLED, điều này sẽ giúp tiết kiệm không gian giúp thiết bị mỏng hơn. Với hệ thống nhận diện đặt dưới mặt kính hiển thị, khi người dùng đặt ngón tay lên thì các cảm biến sẽ phát hiện dấu vân tay.

Microsoft có thể sẽ áp dụng bằng sáng chế mới này lên con át chủ bài Surface Phone của hãng, nhưng cũng có thể ý tưởng này sẽ chỉ tồn tại trên giấy tờ mà thôi. Các tin đồn trước đó cho hay Surface Phone sẽ mang nhiều thay đổi lớn như chip Snapdragon 830, dung lượng RAM dồi dào,...


  • Surface Phone sẽ dùng chip Snapdragon 830, hướng tới doanh nghiệp
  • Smartphone tiếp theo của Microsoft sẽ đổi mới và cao cấp

Nguồn: Thế giới di động

TIN LIÊN QUAN

Microsoft Trung Quốc gợi ý về sự tồn tại của Surface Phone

Theo Windowslatest, mới đây, tài khoản hỗ trợ Cortana của Microsoft Asia Research Institute đã gợi ý về sự tồn tại của Surface Phone.

Microsoft Surface Phone sẽ được trang bị chip Snapdragon 835?

Mới đây, Microsoft khẳng định họ vẫn tiếp tục sản xuất smartphone, và mới đây Surface Phone - chiếc smartphone cao cấp của họ đã bị rò rỉ thêm thông tin

Tiếp tục rò rỉ một số thông tin mới về Surface Phone

Thegioididong - Trên các trang mạng công nghệ tiếp tục rò rì một số thông tin về cấu hình của chiếc điện thoại Surface Phone ra mắt vào năm sau của hãng...

Điện thoại Surface Phone có thể ra mắt sớm trong năm 2016

Mới đây ông chủ công nghệ Microsoft bắt đầu khởi động việc ra mắt sản phẩm điện thoại mới Surface Phone vào năm 2016 tới. Đây có thể là lời cảnh báo cho thương hiệu điện thoại Lumia - thương hiệu hàng đầu trong thị trường điện thoại của tập đoàn

Microsoft một lần nữa quay lại thị trường di động với điện thoại Surface Phone chạy chip Snapdragon 845

Microsoft quay lại thị trường di động bằng siêu phẩm Surface Phone. Vậy điện thoại Surface Phone có gì đặc biệt?

Microsoft Surface Phone sẽ ra mắt trong nửa cuối năm 2016

Theo một báo cáo được công bố ngày hôm nay, Microsoft Surface Phone - mẫu điện thoại được giới công nghệ vô cùng mong đợi sẽ chính thức ra mắt thị trường vào nửa sau của năm 2016. Chiếc điện thoại này sẽ được thiết kế bởi nhóm phát triển Surface,

Bạn sẽ làm gì với 8Gb RAM trên Surface Phone của Microsoft?

Chuyện thật như đùa, mẫu Surface Phone của Microsoft được hứa hẹn ra mắt vào năm 2017 sẽ được trang bị nền tảng vi xử lý Snapdragon 830 và dung lượng RAM lên tới 8GB.

Rò rỉ hình ảnh Surface Phone, màn hình gập được 180 độ

Hình ảnh chiếc tablet được dự đoán là thế hệ Surface Phone đầu tiên vừa được đăng tải lên tài khoản Twitter và Facebook của Microsoft Azure. Đây...

THỦ THUẬT HAY

Siro - Trợ lý ảo giúp điều khiển smartphone hoàn toàn bằng tiếng Việt

Bạn muốn tìm kiếm một “trợ lý ảo” giúp mình có thể dễ dàng điều khiển smartphone hoàn toàn bằng giọng nói tiếng Việt, giúp sử dụng smartphone dễ dàng và thuận tiện hơn? Hãy sử dụng ứng dụng Siro - ứng dụng trợ lý ảo

[Bật mí] Hướng dẫn nạp Tiktok giá rẻ không phải ai cũng biết

Để nâng cao trải nghiệm người dùng, TikTok đã liên tục cập nhật các tính năng mới, trong đó có xu TikTok (hay còn gọi là TikTok Coin). Tuy nhiên, nhiều người dùng vẫn chưa biết cách sử dụng xu TikTok và cách nạp nó như

Đây là tuyệt chiêu khắc phục lỗi TikTok âm thanh không khả dụng, bạn đã biết chưa?

Trong số các lỗi thường gặp mà bất kì người dùng nào cũng có thể gặp phải, lỗi TikTok âm thanh không khả dụng luôn nằm trong top được tìm kiếm cách khắc phục nhiều nhất vì lỗi này xảy ra thì người dùng sẽ không thể

Hướng dẫn cách xoá vĩnh viễn tài khoản Facebook của mình

Hiện tại, chưa biết vì lý do gì mà Facebook không hiển thị tuỳ chọn xoá tài khoản trong trang Cài Đặt. Khi vào phần Quản lý tài khoản, bạn chỉ có hai chọn lựa là xoá tài khoản sau khi qua đời và Vô hiệu hoá tài khoản

Thêm USB 3.0 vào bộ cài Windows 7, driver USB 3.0

Với một số dòng máy đời mới hiện nay các hãng sản xuất đã không còn hỗ trợ Windows 7, đặc biệt là Windows 7 32 bit và khi bạn tiến hành cài đặt sẽ xảy ra lỗi không nhận USB. Để khắc phục tình trạng trên bạn phải thêm

ĐÁNH GIÁ NHANH

Đánh giá camera kép trên Galaxy J7+ xóa phông cùng nhiều tính năng cao cấp như Galaxy Note 8

Tiếp nối thành công của Galaxy J7 Pro và J7 Prime, Samsung tiếp tục tung ra Galaxy J7 Plus ở phân khúc tầm trung với điểm nổi bật nhất là camera kép ở mặt sau phục vụ nhu cầu chụp ảnh chân dung xóa phông (Live Focus),

Mở hộp đánh giá nhanh Nubia Z11 Mini: Thiết kế sang trọng, màn hình chất lượng, camera 16MP

Techrum - Nubia là gương mặt mới trong ngành sản xuất smartphone, nhưng với những sản phẩm có chất lượng tốt và có cả Cristiano Ronaldo làm đại sứ thương hiệu, Nubia đã và đang có được sự chú ý của người dùng khắp thế

Đập hộp & đánh giá nhanh iPhone Xs Max xem có gì đặc biệt

Còn bên dưới đây là clip và nội dung trên tay nhanh iPhone Xs Max và iPhone Xs phiên bản màu Gold do Marques Brownlee thực hiện từ rất sớm, 18/9/2018 (trước ngày mở bán chính thức đến 3 ngày).