Apple tiếp tục nộp đơn cấp thêm bằng sáng chế mới

Apple đã cho ra mắt bằng sáng chế mới nhằm phục vụ cho việc nâng cấp smartwatch. Tuy nhiên, nó lại giống với công nghệ đồng hồ dây cót từ cách đây rất lâu.

Dường như, Apple đang bị chi phối bởi cảm xúc Nostalgia. Đó là tình trạng liên quan đến sự khao khát những gì thuộc về quá khứ và thường lý tưởng hoá những điều đó. Điều này có thể dễ dàng nhận thấy qua bằng sáng chế mới được đăng ký của Apple.



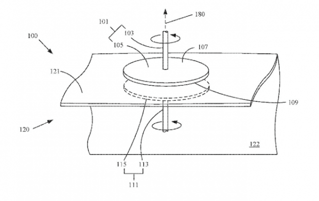
Cơ chế hoạt động của bằng sáng chế mới giống với đồng hồ dây cót. Ảnh: Phonearena.

“Bộ sạc từ tính” là tên gọi của bằng sáng chế. Nghe có vẻ khác biệt, tuy nhiên, thực chất nó là ý tưởng khá cũ, gần giống như những gì đã có từ thời xa xưa.


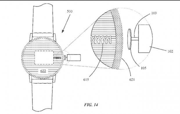
Theo đó, nó có cơ chế tương tự như đồng hồ dây cót. Apple có thể áp dụng điều này bằng cách thêm máy phát điện quay tròn bên trong nút Digital Crown trên smartwatch của họ. Hiện tại, đây là nút ấn duy nhất trên Apple Watch.


Thực tế, bằng sáng chế này là chuỗi nối tiếp và chi tiết hơn của hồ sơ đã nộp năm 2014. Bằng nhiều cách, Apple đang cho thấy họ đang cố gắng cải tiến đồng hồ thông minh của mình để cạnh tranh với các đối thủ.



Vị trí đặt máy phát điện trùng với nút Digital Crown. Ảnh: Phonearena.

Ngoài ra, trên bản vẽ, bằng sáng chế này còn có thể áp dụng lên cả smartphone. Đây có thể là ý tưởng không tồi. Nhưng sẽ còn phải chờ đợi một thời gian dài để đưa điều này vào iPhone hoặc iPad.


Còn với Apple Watch thế hệ thứ 3 sẽ ra mắt vào quý III năm nay, chưa có thông tin gì chắc chắn về những tính năng mà nó sẽ được trang bị. Tuy nhiên, đây được dự đoán là một sản phẩm mang tính đột phá của Apple.


Theo Zing.vn

TIN LIÊN QUAN

Trên tay Apple Watch Series 7 – Smartwatch mới nhất “nhà Táo” giá bán tương đương một chiếc smartphone

Apple Watch Series 7 ra mắt không có nhiều điểm mới so với phiên bản tiền nhiệm. Tuy nhiên, Apple vẫn đem đến những thay đổi mới đáng chú ý trên mẫu smartwatch mới nay. Những chiếc đồng hồ thông minh Series 7 đã có mặt tại Việt Nam sau hơn 1 tháng

Apple có thể sử dụng pin làm haptic engine trong smartwatch

Apple có thể sử dụng pin làm haptic engine trong smartwatch Đồng hồ thông minh trong tương lai của nhà Táo sẽ rất khác ? Theo bằng sáng chế mới được nộp cho Văn phòng Sáng chế và Nhãn hiệu Hoa Kỳ, Apple đang xem xét lựa chọn cách tân chiếc

Apple nhận bằng sáng chế cho Apple Watch có camera

Vẫn mong Apple ra mắt Apple Watch có camera tích hợp? Có thể vẫn còn hy vọng.

Tin nhanh - Apple Watch giúp smartwatch lần đầu vượt đồng hồ Thụy Sĩ về doanh số

Bên cạnh thành công của Apple, Samsung hiện cũng đang chiếm chỗ đứng khá vững chắc trên thị trường smartwatch.

Apple Watch vượt mặt loạt smartwatch trở thành thiết bị đo nhịp tim tốt nhất

Một trong những công dụng quan trọng nhất của các thiết bị đeo thông minh như là smartwatch hoặc smartband là tính năng đo nhịp tim để tập luyện...

Góc giờ mới biết: Dùng Apple Watch làm màn hình live view cho iPhone quay vlog cực tiện

Góc giờ mới biết: Dùng Apple Watch làm màn hình live view cho iPhone quay vlog cực tiện Hóa ra tính năng Camera Remote trên Apple Watch từ lâu có thể được sử dụng như là một công cụ quay vlog một mình cực kỳ tiện. Mặc dù là một tính năng đã được

Cửa hàng Apple Store tròn 13 tuổi vào ngày 19 tháng 5

Hệ thống Apple Store với những mặt kính tinh xảo và 'Truyền thống' xếp chỗ đợi sản phẩm của 'Quả táo' sẽ chuyển sang 13 tuổi vào ngày 19 tháng 5.

Apple giới thiệu 4 màu dây đeo Apple Watch giống màu giày Air VaporMax Flyknit của Nike

Nike đã mở rộng quan hệ đối tác với Apple và giới thiệu một phiên bản đặc biệt của Apple Watch là NikeLab. Và tháng tới Apple và Nike sẽ giới thiệu 4 màu dây đeo Apple Watch mới có tên Nike Sport Band. Đặc biệt là 4 dậy đeo này được thực hiện cùng

THỦ THUẬT HAY

Xem dự báo thời tiết trước 3 tới 10 ngày trên máy tính

Chỉ cần một máy tính hoặc điện thoại di động được kết nối Internet, chúng ta hoàn toàn có thể có được các thông tin dự báo thời tiết về một tỉnh, một khu vực nào đó ngay ở thời điểm hiện tại hoặc có thể biết trước tình

Top 10 cách nghe nhạc trực tuyến miễn phí và hợp pháp tại Việt Nam

Nghe nhạc trực tuyến là một trong những hình thức giải trí phổ biến hiện nay. Tuy nhiên, không phải ai cũng muốn trả tiền để có thể nghe nhạc trực tuyến chất lượng cao. Vì vậy, chúng tôi sẽ giới thiệu 10 cách hợp pháp

Hướng dẫn cách cắt video trên Youtube

Youtube được coi là một trong những mạng xã hội lớn nhất Thế giới về lưu trữ và chia sẻ video. Tuy nhiên, ngoài ra, trang chia sẻ video này cũng có thể được sử dụng như một công cụ cắt video trực tuyến và ghép nhạc cho

Hướng dẫn cách cài đặt đồng hồ Garmin trên máy tính

Việc đầu tiên khi bạn sở hữu chiếc đồng hồ Garmin là cần phải tạo tài khoản và thiết lập các tính năng cho thiết bị. Để làm được điều này chúng ta phải biết cách cài đặt đồng hồ Garmin trên máy tính. Vậy bạn hãy làm

Cách chơi Squid Game(Trò chơi con mực)trong Roblox bằng điện thoại

Các game trong phim Trò chơi con mực (Squid Game) rất được mọi người yêu thích và muốn chơi thử. Sau đây cách chơi Squid Game trong Roblox trên điện thoại nhé...

ĐÁNH GIÁ NHANH

Đánh giá ASUS E200HA: Mỏng nhẹ, pin trâu, giá chất

Đánh giá ASUS Vivobook E200A - Hướng vào đối tượng khách hàng cần di chuyển nhiều với mức đầu tư tối ưu, ASUS E200HA cho chất lượng vượt trội trong tầm giá.

Đánh giá Oukitel K6000 Pro pin 6000mAh thiết kế mạnh mẽ

Oukitel đã cho ra mắt K6000 Pro với nhiều nâng cấp đáng giá hơn K6000, ưu điểm tiếp tục là dung lượng pin khủng. Hôm nay chúng ta cùng mở hộp và...

Thời lượng thực tế viên pin dung lượng 4.230 mAh của OPPO A7

Là một chiếc smartphone tầm trung nhưng OPPO A7 lại được trang bị viên pin dung lượng lên tới 4.230 mAh cho khả năng sử dụng thoải mái trong 1 ngày. Để biết rõ hơn thì mời bạn xem bài đánh giá sau đây.