Từ trước đến nay, chúng ta đã vô cùng quen thuộc với những chiếc smart phone ở dạng khối liền, màn hình trải dài trên toàn khung máy. Với sự phát triển ngày một nhanh của công nghệ, những hãng lớn như Apple, Samsung gần đây đang nghiên cứu và hứa hẹn sẽ cho sự ra đời của một sản phẩm điện thoại bẻ gập được. Với vị thế là một trong những đầu não sáng tạo smart phone hiện nay, Apple đang tìm kiếm một sự đổi mới cho diện mạo của mình.
Thiết kế iPhone thế hệ mới có thể gập cong màn hình, không phải 2 màn hình riêng biệt:
Trên thị trường hiện nay đã có một số Smartphone có 2 màn hình riêng biệt.
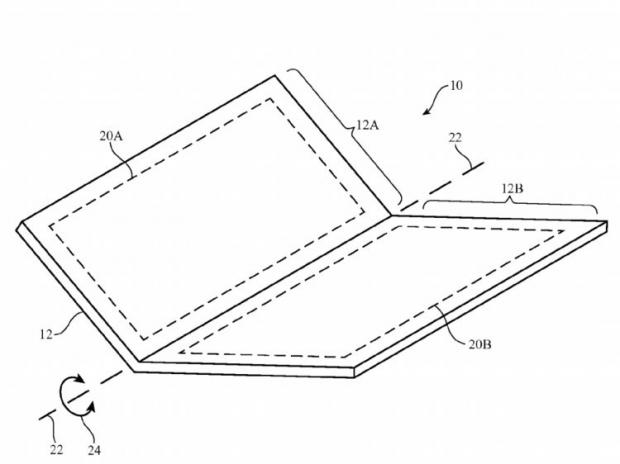
Năm 2016, Apple đã tiết lộ bản vẽ đăng ký bản quyền sáng chế cho một mẫu iPhone mới với màn hình có thể gập lại, thay vì có 2 màn hình riêng biệt được kết nói với nhau bằng bản lề hoặc mối nối như phỏng đoán.
Một chiếc smart phone có 2 chế độ gập:
Nhiều khả năng Apple sẽ ứng dụng 2 chế độ gập cho thiết kế này. Cách đầu tiên là màn hình được trải rộng, mở ra như một chiếc máy tính bảng. Cách thứ 2 là gập chéo để chia đôi màn hình giống như 1 quyển sách và sử dụng 1 phía màn để hiển thị thông tin bổ trợ cho tác vụ ở bên còn lại.
Công nghệ và chất liệu màn hình tiên tiến nhất:
Trong số tất cả thế hệ iPhone, hiện nay chỉ có iPhone X sử dụng công nghệ OLED, còn những dòng trở về trước đều là màn LCD. Màn OLED hiện đại có ưu điểm là độ linh hoạt cao, chất lượng hiển thị sống động và ứng dụng đa dạng. Chính nhờ điều này mà Samsung đã thành công trong việc thiết kế màn hình tràn, cũng chính là bước đầu tiên để phát triển màn hình gập dẻo. Theo nhiều suy đoán, có thể Apple cũng sẽ áp dụng công nghệ này nhưng sẽ được nâng cấp hơn.

iPhone X.
LG có thể sẽ là đối tác của Apple:
Trước đây, khi phân phối màn hình UltraFine 5K ngay trong Apple Store, Apple đã từng hợp tác với LG. LG đóng vai trò hỗ trợ công nghệ và cung ứng màn LCD. Nhiều khả năng, trong lần này Apple sẽ tiếp tục bắt tay cùng LG trong quá trình nâng cấp lên màn hình OLED vì hiện nay chỉ có LG và Samsung có khả năng làm ra những tấm màn OLED linh hoạt cao cấp.
iPhone màn hình gập vẫn sẽ có diện mạo cực “chất”:
Nhiều người lo lắng rằng với thiết kế gập, phiên bản iPhone này sẽ gây nên sự bát tiện và cồng kềnh, hoặc sẽ không quá xuất sắc vì còn quá mới mẻ, chưa được tối ưu hóa hết. Nhưng chắc chắn rằng Apple sẽ không thể nào sơ suất với diện mạo của sản phẩm đánh dấu cho bước cải tiến lớn này nếu như điều đó thành hiện thực.
Đừng nóng ruột, vì ít nhất 2 năm nữa sản phẩm mới hoàn thiện cơ!
Để có thể hoàn thành iPhone màn hình gập một cách hoàn hảo nhất, không vội vàng mà cũng không quá chậm trễ, 2020 là mốc thời gian khả thi nhất để Apple có thể cho ra mắt sản phẩm này. Hiện tại , theo nhiều nguồn tin thì Apple vẫn đang trong giai đoạn bàn bạc với các đối tác thêm về kế hoạch và công nghệ.
Cảm ơn bạn đã đọc hết bài viết, hy vọng những thông tin hữu ích với bạn!