Apple đã được cấp một bằng sáng chế cho cụm camera TrueDepth

iDownloadBlog đưa tin, mới đây, Apple đã được cấp một bằng sáng chế quan trọng về quang học hình ảnh cận hồng ngoại nâng cao và các ống kính hình ảnh có độ phân giải lớn sử dụng trong camera TrueDepth.

Cụm camera TrueDepth trên iPhone X

Còn nhớ trên iPhone X, Táo khuyết tích hợp cụm camera TrueDepth sử dụng bộ cảm biến hồng ngoại ghi nhận ánh sáng trong khoảng bước sóng từ 800 nm đến 1300 nm để có được bản đồ độ sâu dựa trên khuôn mẫu, cho phép hoạt động từ ban ngày đến tối khuya tương tự những thiết bị chẩn đoán y tế, kiểm tra thực phẩm và quan sát ban đêm.

Văn phòng Sáng chế và Nhãn hiệu Hoa Kỳ đã công bố bằng sáng chế mới của Apple với tên gọi “Ống kính hình ảnh cận hồng ngoại”. Nó dựa trên một bằng sáng chế trước đó của công ty được nộp đơn tại Đài Loan bao gồm các thiết bị hình ảnh cận hồng ngoại.

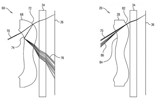
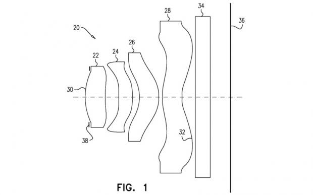
Theo bằng sáng chế, bốn ống kính chuyên dụng hoạt động cùng nhau ở bước sóng cận hồng ngoại để chụp một đối tượng cùng bản đồ chiều sâu của nó lên một mặt phẳng hình ảnh.

Các yếu tố quang học được cấu hình để tạo thành một bức ảnh hồng ngoại ở khẩu độ f/2.0 với góc nhìn đầy đủ theo đường chéo lớn hơn 80 độ.

Được biết, đây là bằng sáng chế đã được đệ trình trong quý 1/2016 và nó là thành quả phát minh của các kỹ sư Apple bao gồm Miodran Scepanovic, Yoshikazu Shinohara và Yuhong Yao. 

Tech Funny

TIN LIÊN QUAN

Apple muốn LG sản xuất module camera TrueDepth của iPhone trong tương lai

Nguồn tin của The Daily cho biết, Apple đã sẵn sàng chi trước tới 820.9 triệu USD cho LG Innotek để gã khổng lồ công nghệ Hàn Quốc có thêm chi phí xây dựng các cơ sở hiện đại sản xuất module camera 3D.

Apple nói gì về tin đồn "Animoji hoạt động không cần đến camera TrueDepth"

Mở rộng hơn từ emoji thông thường, Animoji có khả năng thay đổi chuyển động miệng và khuôn mặt của biểu tượng cảm xúc dựa trên chuyển động mặt theo thời gian thực.

iPad của Apple từ năm 2018 sẽ được trang bị công nghệ Face ID

Theo BGR, sau khi giải quyết được vấn đề nguồn cung camera TrueDepth thì sang năm, Apple có thể sẽ trang bị cho iPad 2018 hệ thống camera 3D này. Báo cáo cũng ghi nhận rằng Apple có thể sử dụng TrueDepth cho các tính năng tăng cường thực tế ảo (AR).

Chơi đàn piano hoặc guitar với ứng dụng GarageBand trên iPhone X

Cảm biến của hệ thống TrueDepth đã nhận diện được các cử động trên khuôn mặt của người chơi nhạc để thêm các hiệu ứng âm thanh vào đó, như ví dụ bên dưới là các tiếng vang theo cử động của mồm. Dựa vào đó, người chơi có thể bổ sung thêm nhiều hiệu

Galaxy S10 có cảm biến vân tay nhúng vào màn hình và  camera TrueDepth

Galaxy 10 được xem là smartphone nổi bật với nhiều tính năng bao gồm: Chip 7nm; Kết nối 5G; Máy quét vân tay nhúng trong màn hình và hệ thống camera TrueDepth Theo nhiều nguồn tin cho biết hệ thống TrueDepth của Samsung sẽ kèm...

iPhone 2019 được dự đoán sẽ có dung lượng pin cao hơn

Theo Technobuffalo, nhà phân tích Ming-Chi Kuo mới đây đã chia sẻ rằng, hệ thống TrueDepth mạnh mẽ hơn đòi hỏi dung lượng pin phải cao hơn trên iPhone 2019.

iPad tích hợp Face ID có thể sẽ khiến doanh thu mảng tablet của Apple khởi sắc

Các đối của của Apple được cho là sẽ sớm sao chép tính năng nhận diện khuôn mặt như trên iPhone X. Không giống các công nghệ nhận diện thông thường, FaceID sử dụng hệ thống 3D và camera TrueDepth để phân biệt được mặt thật và giả mạo.

Apple phát hành cập nhật cho cả ứng dụng Clips và GarageBand trên iOS

Trước tiên, Clips hỗ trợ hai hiệu ứng selfie mới được lấy cảm hứng từ bộ phim Finding Dory và Monsters của Pixar, cũng như 9 bộ sticker mới. Apple cũng đã thiết kế thêm 9 poster mới cho phép bạn tạo các tiêu đề dạng hoạt hình cho clip. Bên cạnh đó,

THỦ THUẬT HAY

Những ngôi chùa linh thiêng cầu bình an, may mắn năm 2023

Đi lễ chùa vào dịp Tết Nguyên đán hay đầu năm không chỉ đơn thuần là một hoạt động gắn liền với Phật giáo mà nó đã trở thành một nét văn hóa truyền thống lâu đời, một phần không thể thiếu trong đời sống tinh thần của

Vô hiệu hóa 10 tính năng không dùng đến trên Windows 10

Trên Windows 10 bạn có thể quản lý các tính năng thông qua hộp thoại Windows Features. Chính vì vậy, việc đầu tiên cần làm là khởi chạy công cụ này. Hãy nhấn chuột phải vào nút Start, chọn Programs and Features.

Tải các video trên Facebook về iPhone nhanh chóng và đơn giản

Mạng xã hội Facebook là nơi chia sẻ rất nhiều video hay và thú vị. Nhiều bạn sử dụng iPhone/ iPad muốn tải video về nhưng không biết phải làm cách nào thì bài viết dưới đây sẽ hướng dẫn bạn.

Hướng dẫn tải video TikTok không có nút lưu

Người dùng mạng xã hội trẻ tuổi bây giờ dành rất nhiều thời gian cho TikTok – một nền tảng chứa rất nhiều video thú vị ở nhiều chủ đề khác nhau. Vậy khi tải video TikTok không có nút lưu thì phải giải quyết như thế nào?

Cách cập nhật iOS 15 chính thức từ iOS 15 Beta, có bị lỗi gì không...?

Nhiều bạn vẫn còn thắc mắc về những cách cập nhật lên iOS 15 chính thức mới nhất. Và trong bài viết này mình sẽ giải đáp cho bạn về cập nhật iOS 15 chính thức.

ĐÁNH GIÁ NHANH

Đánh giá Nvidia GTX 1070 Ti Founder Edition – Mảnh ghép cuối định hình dòng đồ họa Ti

Việc ra mắt GTX 1070 Ti cho thấy sự cạnh tranh quyết liệt của Nvidia với đối thủ trực tiếp là Radeon Vega 56 của AMD trong cùng phân khúc. Đây cũng là một trong các mảnh ghép để định hình nhánh sản phẩm mới của dòng

Đánh giá Asus Zenfone Max Plus: Có gì đáng giá với mức 5,5 triệu

Asus Zenfone Max Plus mang ngôn ngữ thiết kế khá quen thuộc với mặt lưng bằng kim loại nguyên khối cứng cáp và các cạnh bên được bo cong mềm mại, tạo cảm giác dễ chịu hơn khi cầm nắm. Cảm biến vân tay đã được hãng dời

Đánh giá chi tiết BlackBerry KEY2: Liệu có đạt được thành công như người tiền nhiệm?

BlackBerry KEY2 là phiên bản kế nhiệm của chiếc BlackBerry KeyOne và được kế thừa bàn phím QWERTY của năm ngoái. Giống như người tiền nhiệm, thiết bị này vẫn giữ lại các yếu tố hình thức truyền thống nhưng đi kèm với