Hướng dẫn sử dụng màn hình khóa mới trên iOS 10

Tham khảo các bước hướng dẫn dưới đây để mở khóa thiết bị cũng như sử dụng các tính năng tại màn hình khóa mới trên iOS 10.

Nếu gặp khó khăn trong quá trình sử dụng tính năng mở khóa màn hình mới trên iOS hoặc những tính năng liên quan khác, bạn có thể tham khảo bài tổng hợp tất cả các cách giúp sử dụng thiết bị một cách nhanh chóng và tiện lợi nhất được chúng tôi trình bày ngay dưới đây.

 


 

Cách mở khóa thiết bị trên iOS 10

 

Cách 1: Nâng lên để mở (Raise To Wake)

 

Trong bản cập nhật iOS 10 chính thức, Apple đã bổ sung thêm một phương thức mở khóa màn hình mới là thao tác “nâng thiết bị lên để mở sáng màn hình”, từ đây bạn có thể xem thông báo mới hoặc sử dụng Touch ID để mở khóa điện thoại mà không cần thông qua các phím cứng khác. Trải nghiệm thực tế cho thấy tính năng này hoạt động khá tốt (chỉ hỗ trợ từ iPhone 6s trở nên), nhưng nếu muốn, bạn vẫn có thể vô hiệu hóa nó bằng cách truy cập vào ứng dụng Cài đặt.

 

Cụ thể, để bật/tắt tính năng này, bạn làm như sau:

 

Bước 1: Vào “Cài đặt (Settings)”

Bước 2: Chọn mục “Màn hình & Độ sáng (Display & Brightness)”

Bước 3: Bật/tắt tính năng “Nâng lên để mở (Raise To Wake)”

 


 

Cách 2: Mở khóa bằng Touch ID theo phương pháp cũ (từ iOS 9 trở xuống)

 

Cách mở khóa 2 bước mởi của Apple nhận được rất nhiều phản ảnh của người dùng vì sự bất tiện của nó. Tuy nhiên, nếu bạn vẫn muốn mở thiết bị một chạm như iOS 9, có thể sử dụng tính năng “Rest Finger to Open” để chạm vào Touch ID đã được cài đặt trước để mở khóa nhanh.

 

Cách kích hoạt “Rest Finger to Open”:

 

Bước 1: Vào “Cài đặt (Settings)”

Bước 2: Chọn “Cài đặt chung (General)” > “Accessibility (Trợ năng)”

Bước 3: Bật/tắt tính năng “Rest Finger to Open”

 

 


 

Cách thao tác có thể sử dụng trực tiếp từ màn hình khóa

 

1. Mở thông báo từ màn hình khóa

 

Thông báo trên iOS 10 có thể hiển thị nội dung trực tiếp trên màn hình khóa. Để mở, bạn chỉ cần trượt một thông báo sang phải màn hình.

 


 

2. Trả lời tin nhắn (sms, messenger,..) từ màn hình khóa

 

Một trong những tính năng tuyệt vời nhất trên iOS 10 là bạn có thể trả lời tin nhắn trực tiếp từ màn hình khóa mà không cần mở ưng dụng. Và đây là cách thực hiện:

 

Cách 1: Đối với các thiết bị có hỗ trợ 3D Touch

 

Để mở thông báo từ màn hình khóa, bạn nhấn và giữ vào thông báo đó cho đến khi hiển thị một giao diện mới kèm bàn phím để bạn nhập nội dung. Trước khi gửi tin nhắn trả lời, bạn sẽ được yêu cầu xác thực bằng cách quét vân tay trên cảm biến Touch ID.

 

 


 

Cách 2: Đối với các thiết bị không hỗ trợ 3D Touch, bạn trượt thanh thông báo sang trái và bấm “Xem”.

 


 

3. Mở Widget từ màn hình khóa

 

Bước 1: Đầu tiên bạn cần cài đặt Widget bằng cách mở “Trung tâm thông báo (Notification Center)” > Kéo xuống dưới và chọn mục “Chỉnh sửa (Edit)”. Tìm Widget mà bạn muốn hiển thị rồi nhấn vào biểu tượng dấu “+” để thêm vào trung tâm thông báo. Xong đó nhấn vào “Xong (Done)” để lưu.

Bước 2: Để truy cập Widget từ màn hình khóa, bạn chỉ cần vuốt màn hình sang phải.

 

 


 

4. Mở ứng dụng Camera từ màn hình khóa

 

Để truy cập ứng dụng camera từ màn hình khóa, bạn chỉ cần vuốt màn hình sang trái.

 

 


 

5. Mở Control Center mới

 

Trung tâm điều khiển đã được thiết kế lại trên iOS 10 với 3 tab điều khiển cực kỳ tiện dụng là “Thiết bị, trình nghe nhạc và màn hình chính”. Nếu đã cài đặt HomeKit, bạn có thể điều khiển các thiết bị thông minh trong nhà ngay từ màn hình khóa. Để làm điều đó, bạn chỉ cần vuốt dưới màn hình lên và trượt sang trái hoặc phải để chọn tab hoạt động.

 


    

6. Sử dụng tính năng Apple Pay

 

Nếu muốn sử dụng tính năng Apple Pay trên iPhone để thanh toán cho một món đồ nào đó mà bạn phải trả tiền? Chỉ cần nhấn đúp vào nút Home và thẻ của bạn sẽ được hiển thị. Chọn một thẻ và làm theo các bước hướng dẫn để thanh toán.

 

 


 

Ho Huyn

Nguồn: iPhonehacks

Nguồn: fptshop.com.vn

TIN LIÊN QUAN

Hướng dẫn tắt tính năng nhấn nút Home để mở khóa trên iOS 10

Dưới đây là cách để tắt tính năng nhấn nút Home để mở khóa trên iOS 10 và trở lại phương thức mở khóa chỉ bằng một lần nhấn vào nút Home.

Cách khoá app trên iPhone để mở bằng Face ID / Touch ID

Cách khoá app trên iPhone sẽ dựa vào Shortcuts (ứng dụng Phím tắt) để thực hiện một hành động automation mà chúng ta setup. Khi mở app đã khoá lên thì iPhone sẽ yêu cầu chúng ta sử dụng Face ID hoặc…

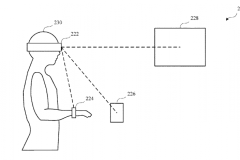
“Apple Glass” có thể giúp tự động mở khóa iPhone của người dùng

Kính thông minh Apple Glass sắp ra mắt của Apple có thể cho phép người dùng bỏ qua việc mở khóa iPhone nếu chúng đã được xác thực. Apple hiện đã được cấp bằng sáng chế cho nghiên cứu về việc sử dụng “Apple Glass” hoặc thiết bị tương tự để tự động

Cách mở khóa cực nhanh bằng nút Home trên iOS 10

Từ trước tới nay, để mở khóa một chiếc iPhone, người dùng quen với thao tác: nhấn nút Home một lần (hoặc nút nguồn) để mở, sau đó kéo màn hình sang phải, nhập mật...

Tại sao iPhone 6 có nhiều mức giá như vậy?

iPhone chính hãng có giá 12 triệu, máy ở cửa hàng xách tay lại chỉ 7 triệu, thậm chí hàng khóa mạng có giá 5 triệu. Tôi nên mua loại nào?

Cách tắt thông báo màn hình khóa trên iPhone giúp bạn không bị làm phiền

Người dùng iPhone giờ đây sẽ không còn phải lo lắng việc bị làm phiền bởi các thông báo từ ứng dụng. Giờ đây bạn đã có thể tắt tính năng này theo thời gian

Liệu iPhone có bị bẻ khóa được không? Nếu có thì lỗ hổng bảo mật nằm ở đâu?

Apple luôn luôn chú trọng đến việc bảo mật các sản phẩm của mình và đặc biệt là iPhone. Chính vì thế các công ty công nghệ trên toàn thế giới vẫn bất chấp tìm kiếm các kẽ hở bảo mật và khai thác các lỗ hổng này. Liệu iPhone có bị bẻ khóa được

THỦ THUẬT HAY

RTube - Ứng dụng miễn phí giúp tải về video từ YouTube

Chức năng chính mà RTube cung cấp cho bạn là lưu trữ nội dung từ YouTube về bộ nhớ thiết bị dưới dạng file video hoặc âm thanh với chất lượng có thể tùy chỉnh theo nhu cầu sử dụng của từng người. Bên cạnh đó, nhà phát

Hướng dẫn nâng cấp iOS 11 cho iPhone, iPod Touch và iPad

Bản iOS mới nhất mà Apple tung ra đã được cải tiến nhiều tính năng hơn, đảm bảo tính bảo mật hơn để mang đến không gian trải nghiệm mới mẻ đến người dùng. Bên cạnh đó, cũng giống như iOS cũ, phiên bản iOS mới cũng có

Hướng dẫn chi tiết cách đổi số thành chữ trong Excel

Muốn đổi số thành chữ trong Excel thì bạn cần tải vnTools (hãy chọn link tải phù hợp với phiên bản Excel đang dùng để tải về). Sau đó, cài đặt phần mềm này vào máy tính để hỗ trợ đổi số thành chữ, chuyển đổi font chữ,

Google sẽ là cách kiểm tra tốc độ mạng nhanh nhất ?

Từ khóa 'speed test' đã là một thuật ngữ được sử dụng rất nhiều trên trình tìm kiếm Google. Hầu hết chúng ta khi mới lắp mạng, dùng 3G, 4G đều mong muốn kiểm tra thử xem tốc độ mạng của mình thế nào, nắm bắt được tâm

Hướng dẫn tải file torrent cực nhanh bằng Cốc Cốc

Nhắc tới trình duyệt Internet thì không thể bỏ qua Cốc cốc - niềm tự hào của người Việt Nam. Đánh bại Firefox, IE, Safari, và vừa rồi thậm chí còn vượt xa Google Chrome về lượng tìm kiếm. Nếu xem lại quãng đường mà cốc

ĐÁNH GIÁ NHANH

Những điểm đặc biệt trong thiết kế của Xiaomi Mi 8 Lite

Xiaomi Mi 8 Lite được ốp kính phần lưng, kèm theo đó là hiệu ứng gradient cho phép màu sắc của máy biến đổi dựa trên loại màu sắc ánh sáng và cường độ ánh sáng. Đó là nhờ quy trình mạ nano nhúng gương, một xu hướng cực

Chi tiết chiếc Mulsanne Speed 2016 - Thuần khiết Bentley

Năm 1939, Rolls-Royce mua trọn Bentley khi hãng xe này đang chìm trong khó khăn tài chính. Mua đứt đối thủ không phải là một hình thức cạnh tranh quá lạ lẫm nhưng có một thứ mà...

Đánh giá nhanh Xiaomi Mi Mix 2 Special Edition: Trắng xoá như tuyết mùa đông

Bên cạnh những phiên bản màu sắc thông thường đuược làm bằng kính kết hợp với khung kim loại, Mi Mix 2 còn có thêm 1 người anh em khác với mã sản phẩm mang tên Special Edition được chế tác hoàn toàn bằng chất liệu gốm