Apple vẫn án binh bất động, không hề thông báo sẽ làm
gì với công ty bảo mật di động Authen
Tec mà tập đoàn này thâu tóm được một năm về trước. Nhưng nguồn tin Apple xin cấp bằng sáng chế khiến chúng ta có thể nghĩ đến khả năng cả 2 đang cùng hợp tác: Apple
sẽ lắp bộ cảm ứng vân tay vào màn hình Iphone.
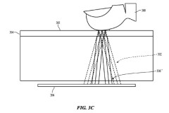
Văn phòng sáng chế và thương hiệu Hoa Kỳ mới đây đã
công khai đơn cấp bằng sáng chế của Apple với nhà đồng sáng tạo Authen Tec. Sáng
chế là một con chip nhỏ, được cài đặt vào thiết bị di động giúp cảm ứng vân tay
trên màn hình như là phương thức xác thực chủ nhân của nó trước khi cho phép
truy cập vào bên trong.
Trích từ đăng ký sáng chế: 'Khi
sử dụng cảm biến dấu vân tay bán dẫn (hoặc tích hợp) trong một thiết bị điện tử
di động,ví dụ một chiếc điện thoại, thiết bị này có thể xác định vị trí mạch
tích hợp của bộ cảm biến dấu vân tay riêng rẽ với khu vực cảm biến ngón tay. Việc
tách riêng bộ phận cảm biến ngón tay
tích hợp (IC) từ khu vực cảm ứng ngón tay sẽ rất hữu ích khi khu vực cảm ứng
ngón tay tương đôi mỏng và trong suốt
nên có thể đặt lên phía trên của màn hình, trong khi đó các vi mạch (IC) có thể
đặt ở phía trong thiết bị.'
[/i]
Đã có rất nhiều suy đoán thế hệ Iphone tiếp theo sẽ có
thêm tính năng bảo mật bằng nhận dạng dấu vân tay. Số đông cho rằng thiết bị cảm
biến này sẽ được đặt dưới nút Home. Nhưng vì thiết bị này rất nhỏ, nó có thể tạo thêm một lớp bảo vệ nữa, ngoài ' trượt để
mở khóa” cho Iphone, Ipad, touchpad của MacBook.

Tuy nhiên, Apple đăng kí rất nhiều bằng sáng chế cùng
lúc, và không phải tất cả đều được áp dụng cho các sản phẩm của Apple. Nhưng đây
là hồ sơ xin cấp bằng sáng chế đầu tiên kể từ sau khi Apple mua lại AthenTec. Được
biết hai công ty cũng đã từng hợp tác ngay cả trước khi sáp nhập. Đây quả thực là
dấu hiệu tốt cho triển vọng và hướng phát triển của cả hai.