Trong khi Samsung đã từng sở hữu một bằng sáng chế liên quan đến một thiết bị có màn hình dẻo, thì với bằng sáng chế này, chiếc màn hình có thể gập lại theo một cách khác với sự hỗ trợ của bộ phần bản lề.
Hiện tại vẫn chưa có nhiều thông tin về loại thiết bị này, tuy nhiên chúng ta có thể hình dung là Samsung, và có thể là cả LG đang có ý định tận dụng kiểu thiết bị có thể gập lại để biến một chiếc smartphone thành máy tính bảng và ngược lại.
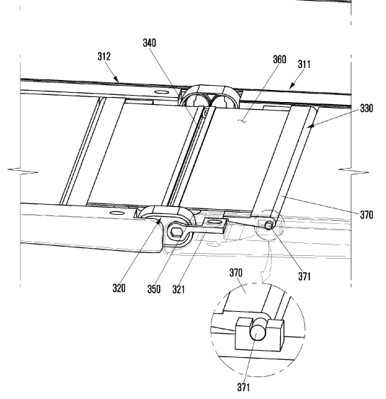
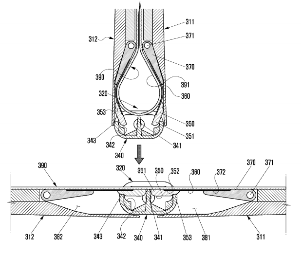
Bạn có thể xem mô tả về bằng sáng chế mới của Samsung qua những hình ảnh dưới đây:


Theo Phonearena