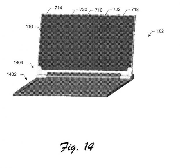
Microsoft đã đăng ký sáng chế một thiết bị di động gập được, Surface Phone đây chăng?

Microsoft đã nộp đơn đăng ký bằng sáng chế một thiết bị di động nhiều màn hình với bản lề linh hoạt. Có thể trong tương lai đây sẽ là thiết kế được áp dụng cho chiếc Surface Phone trong 'truyền thuyết' chăng?


Theo bản thiết kế dưới đây, ta có thể dự đoán được rằng có thể đó là bản thiết kế dành cho một thiết bị smartphone lai có màn hình lớn: vừa có thể làm một chiếc smartphone nhưng bên cạnh đó vẫn đảm nhận được vai trò của tablet khi mở ra và dùng đa màn hình, như một số lời dự đoán và những bản concept đã được tạo ra trước đây.

 

 


Mặc dù trước đây có khá nhiều bằng sáng chế của Microsoft không được áp dụng vào thực tiễn, nhưng riêng lần này thật đáng chú ý. Rất nhiều dấu hiệu đã và đang cho thấy rằng Microsoft rất quyết tâm trong việc tạo nên một siêu phẩm di động mới không đụng hàng. Bên cạnh đó, trong thời gian vừa qua đã có rất nhiều lời đồn rằng Surface Phone sẽ được trình làng trong năm nay.

Hy vọng trong thời gian tới, siêu phẩm Surface Phone sẽ xuất hiện và hứa hẹn là một sản phẩm tuyệt vời chưa từng có được tạo ra bởi tâm huyết và sự quyết tâm của Microsoft.

TIN LIÊN QUAN

Thêm một Concept tuyệt vời nữa cho Surface Phone: Thiết kế kim loại đi cùng Camera PureView 20MP

Đa số người dùng đều biết Microsoft đang tránh né trả lời những câu hỏi liên quan đến Surface Phone. Liệu rằng Surface Phone có tồn tại hay không? Cho đến thời điểm hiện tại, người dùng không nhận được bất kỳ gợi ý nào cho câu trả lời này từ phía

Tổng hợp các tin đồn về điện thoại Microsoft Surface Phone từ trước tới nay

Chiếc điện thoại Microsoft mang tên Surface Phone, là một trong những smartphone đang được người dùng nóng lòng chờ đón trong năm 2017.

Dìm hàng Apple, Microsoft tự tin khẳng định Surface Pro 7 tốt hơn MacBook Pro M1

Trong video quảng cáo, Microsoft cho biết Surface Pro 7 “vượt trội” hơn nhiều so với MacBook Pro 13 inch M1, thế nhưng thực tế thì không phải như vậy. Microsoft đã ra mắt Surface Pro 7 vào tháng 10/2019. Mặc dù thu được kết quả không mấy ấn tượng,

Microsoft tổ chức sự kiện ra mắt Surface mini

Microsoft sẽ tổ chức một sự kiện liên quan đến Surface vào ngày 20 tháng 5 tới, rất có thể Surface mini sẽ được giới thiệu.

Điện thoại Microsoft Surface Phone sẽ thay đổi kỷ nguyên 'máy tính' ?

Mới đây, nhà thiết kế đồ họa Nadir Aslam đã cung cấp một ý tưởng về điện thoại Surface có thể giúp mọi người đáp ứng tốt công việc hằng ngày trên máy tính của họ mà chỉ trên một chiếc smartphone.

Surface Pro 8 lộ ảnh kèm cấu hình: Màn hình 120Hz, cổngThunderbolt...

Microsoft đang chuẩn bị ra mắt mẫu Surface Pro 8 mới vào tuần tới và một báo cáo rò rỉ mới đã tiết lộ nhiều chi tiết về chiếc tablet này.

Cùng ngắm concept Surface Phone với thiết kế kim loại nguyên khối vô cùng độc đáo

Mới đây, chiếc Surface Phone trong 'truyền thuyết' đã được 'hâm nóng lại' nhờ một concept của kênh YouTube có tên là MobySmartCat. Theo đó, thiết bị này sẽ sở hữu phần thân máy được làm bằng kim lại nguyên khối vô cùng độc đáo.

Microsoft muốn HTC sử dụng Windows Phone thay thế Android

Theo nguồn tin từ Bloomberg, HTC dự kiến sẽ không có mô hình điện thoại mang Windows Phone mới nhưng Microsoft đề nghị sẽ cắt giảm hoặc bỏ hẳn phí cấp bản quyền nếu hãng này chấp nhận sử dụng Windows Phone thay thế Android.

THỦ THUẬT HAY

Trải nghiệm tính năng Picture-in-Picture với phiên bản Chrome dành cho PC

Để trải nghiệm tính năng này trên trình duyệt Google Chrome dành cho máy tính, bạn tải về và cài đặt trước phiên bản Chrome Canary kèm tiện ích mở rộng Picture-in-Picture do lập trình viên Kasik96 phát triển.

Công cụ gỡ sạch thanh tìm kiếm "rác" khác ra khỏi trình duyệt Chrome và Firefox

Trong quá trình sử dụng máy tính duyệt web chúng ra có thể sẽ bị dính các malware search, thay thế thanh tìm kiếm Google bằng những Ask Toolbar, Mystart Search, Babylon, MyWebSearch, SiteSafety... Dưới đây, TCN chia sẻ

Hướng dẫn cách thu nhỏ giao diện của Task Manager

Task Manager là một tính năng quan trọng cho người dùng Windows. Với công cụ này, người dùng có thể làm được nhiều công việc khác nhau như kiểm tra các ứng dụng, quá trình (process) và dịch vụ (service) hiện đang chạy

9 công cụ giúp tạo Visual Content chuyên nghiệp

Những công cụ thiết kế nội dung hình ảnh (Visual Content) hữu ích cho những người làm quảng cáo qua các phương tiện truyền thông xã hội.

Concept camera kép được trang bị trên iPhone 7

Apple đang cần phải làm mới các mẫu iPhone nhằm theo kịp các đối thủ bên phía Android. Mới đây, nhiều thông tin khẳng định iPhone 7 sẽ sở hữu một cụm camera kép.

ĐÁNH GIÁ NHANH

Trên tay Xiaomi 11T Pro 5G – Smartphone HOT nhất phân khúc tầm trung với camera 108MP, sạc siêu nhanh 120W, chip Snapdragon 888

Xiaomi 11T Pro 5G sở hữu cấu hình siêu mạnh mẽ, camera 108MP đỉnh chóp, sạc cực nhanh,… Cùng mình trên tay Xiaomi 11T Pro 5G và khám phá chiếc điện thoại ấn tượng này nhé. Mở hộp Xiaomi 11T Pro 5G Trước tiên, chúng ta

Sau 2 tháng trải ngiệm, Galaxy J7 Pro liệu có xứng đáng với mức giá 7 triệu đồng?

Hai tháng kể từ khi Galaxy J7 Pro về với mái nhà chung, đối với cá nhân mình thì sản phẩm này đã hoàn thành tốt 'sứ mệnh' của nó là đáp ứng được những kì vọng đối với một sản phẩm tầm trung và đến thời điểm bây giờ,

Đánh giá Rebel 500 2020 với 5 ưu điểm & 4 nhược điểm

Honda Rebel 500 2020 mặc dù ra mắt chưa lâu nhưng mẫu xe thuộc thương hiệu Nhật Bản được giới điệu mộ đánh giá cao. Và qua đây là một số nhận xét của người dùng về thế hệ Rebel 500 2020, mời anh em tham khảo để có thể