
Ford sáng chế bàn với túi khí đặc biệt cho xe tự hành
Trước tiên, điều quan trọng cần biết là vật thể trong các bằng sáng chế ô tô chưa chắc sẽ trở thành hiện thực. Việc đăng ký bằng sáng chế chỉ là một bước đi để các nhà sản xuất bảo vệ ý tưởng của mình. Ý tưởng này có thể tốt và không tốt. Đối với sáng chế mới của Ford, một chiếc bàn có thể thu gọn được trang bị túi khí cho ô tô tự hành là một ý tưởng hay nhưng lại kỳ quặc dù điều này không còn lạ đối với những mẫu xe van chuyển đổi. Bàn trong trường hợp của Ford không phải dành cho xe van cỡ lớn mà dành cho xe tự hành hoàn toàn trong tương lai, nơi người lái xe thực sự chỉ là hành khách ngồi cạnh bàn và trò chuyện.
Theo mô tả của nhà sản xuất ô tô Mỹ, xe tự hành có thể bao gồm các tiện ích cho phép người dùng ngồi đối diện với nhau trong quá trình vận hành của xe. Do đó, phát sinh cho nhu cầu trên không chỉ là một chiếc bàn có thể thu gọn mà còn là túi khí để bảo vệ những người bên trong khi xe tự hành bất ngờ mắc sai lầm. Thiết kế của hệ thống này thực sự có vẻ khá đơn giản. Bàn tròn có thể được gập hoàn toàn vào sàn nhà để tạo ra một bề mặt phẳng, hoặc mở rộng ra để hành khách phía trước và phía sau đều có thể vui vẻ đánh bài hoặc lướt internet.
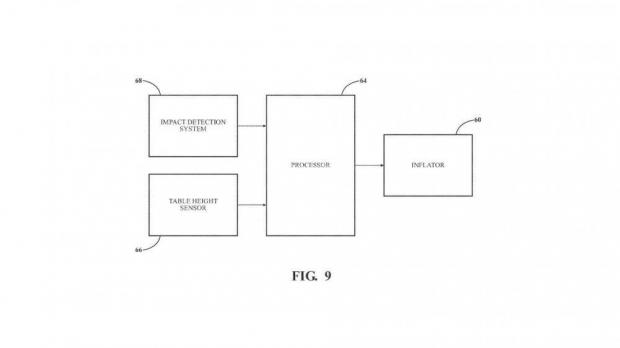
Bên cạnh đó, túi khí được lắp đặt ở cạnh bàn có thể bung ra trong trường hợp có va chạm để giúp hành khách không bị đâm vào bàn. Rõ ràng, Ford đang có tầm nhìn tốt đến tương lai của ngành công nghiệp ô tô khi nộp đơn xin cấp bằng sáng chế như thế này. Những mẫu xe tự hành hoàn toàn được cho là vẫn còn vài năm nữa mới đến thời điểm tốt nhất. Thậm chí sau đó cũng không chắc chắn liệu thiết kế bàn có thể thu gọn và trang bị túi khí của Ford có thu hút được sự quan tâm hay không.
Một số hình ảnh mô phỏng thiết kế túi khi đặc biệt cho xe tự hành của Ford:








Nguồn: Banxehoi.com - VK lược dịch