Điện thoại uốn cong của Samsung sẽ dùng camera rời?

Điện thoại màn hình cong nghe có vẻ “cool” đấy. Nay Samsung đã làm cho mẫu điện thoại tương lai của mình ngầu hơn với camera tháo rời.

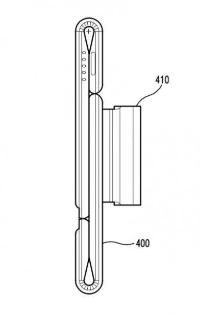
Dường như cứ mỗi vài tuần Samsung lại tung ra một bằng sáng chế nào đó có liên quan, hoặc hỗ trợ cho chiếc điện thoại tương lai của hãng, có khả năng gập lại. Mới đây, công ty đã đăng ký thêm một mẫu thiết kế nữa, tất nhiên cũng liên quan đến công nghệ màn hình gập.

 


 

Cụ thể hơn, Samsung vừa mới có sáng kiến mới, với ý tưởng camera hoặc thấu kính của máy ảnh của máy có thể được tháo rời. Điều này có lẽ sẽ cho phép bạn sử dụng điện thoại giống như một máy ảnh kỹ thuật số với ống lens rời, mà không cần phải lúc nào cũng kè kè bên mình hàng tá ống kính chuyên dụng. Bởi bạn có thể lắp thêm ống kính cho camera điện thoại..

 
 

Khái niệm cơ bản xung quanh ý tưởng này có vẻ liên quan với những thông tin rò rỉ trước đây. Điện thoại gập lại được của Samsung sẽ có 2 điểm gập, cho phép điện thoại để gập lại còn một phần tư kích thước ban đầu. Tất nhiên, bằng sáng chế cũng chỉ là bằng sáng chế và Samsung có thể sẽ nghĩ ra thêm nhiều ý tưởng khác nữa. Nhưng từ đây, chúng ta có thể thấy được sức sáng tạo “mãnh liệt” của hãng điện thoại hàng đầu xứ Hàn này đấy nhỉ.

Bạn hứng thú với chiếc điện thoại độc đáo này và bạn muốn biết thêm nhiều thông tin hơn nữa? Mời các bạn liên tục cập nhật những tin tức mới nhất từ nhé.

Xem thêm: Bộ tam smartphone Trung Quốc đối đầu liên minh Samsung - Apple

DominV

Theo Phandroid

 

Nguồn: fptshop.com.vn

TIN LIÊN QUAN

Samsung sắp ra mắt smartphone mới với camera kép, hai màn hình, bàn phím T9

Điện thoại mới, có tên mã là SM-W2019 trông giống như có nút Bixby ở phía bên trái của bảng lật phía trên, trong khi phím chỉnh âm lượng và phím nguồn sẽ nằm ở bên phải. Nhìn vào hình ảnh, nó sẽ có camera kép trông giống Galaxy Note9, một trong

Hình ảnh thực tế của Samsung W21 5G bị rò rỉ trước ngày ra mắt

Theo một báo cáo gần đây cho biết, Samsung sẽ ra mắt smartphone màn hình gập Samsung W21 5G tại một sự kiện diễn ra vào ngày 4 tháng 11 tới đây.

Điện thoại gập Samsung W2019 ra mắt: Màn hình kép, camera kép, Snapdragon 845

Samsung vừa công bố một chiếc điện thoại nắp gập mới với tên gọi W2019, tại một sự kiện diễn ra ở Trung Quốc. Đây là phiên bản kế nhiệm W2018 dùng...

Smartphone nắp gập của Samsung sẽ trang bị Snapdragon 845, camera kép

Chiếc đầu tiên, Samsung W2017 được ra mắt vào tháng 11 năm 2016 sử dụng chip Snapdragon 820. Chiếc điện thoại thứ hai trong dòng W có tên gọi là W2018, ra mắt vào tháng 12 năm 2017 và được hỗ trợ bởi chipset Snapdragon 835. Nếu không có gì thay

Samsung Galaxy M52 5G âm thầm ra mắt với chip Snapdragon 778G, màn hình AMOLED 120Hz

Samsung âm thầm công bố Galaxy M52 5G, một chiếc điện thoại tầm trung mới dựa trên mẫu Galaxy A52s. Máy được bán ra ở phân khúc giá rẻ cận tầm trung.

Hé lộ chi tiết về hệ thống 3 camera sau của Galaxy S10 Plus

Trang GSM Arena cho biết, một báo cáo mới đây đến từ Hàn Quốc vừa tiết lộ những thông tin liên quan đến cụm camera sau của chiếc Galaxy S10 Plus. Theo đó, phiên bản cao cấp nhất của dòng điện thoại này sẽ được trang bị một hệ thống camera 3 ống

Galaxy Z Flip 3: Khám phá tính năng chụp ảnh trên chiếc điện thoại gập mới của Samsung(phần 1)

Galaxy Z Flip 3 là một chiếc điện thoại thông minh đắt tiền. Trải nghiệm chụp ảnh/quay video từ chiếc điện thoại độc đáo và thú vị hơn so với Galaxy S21.

Samsung Galaxy A82 5G bất ngờ lộ diện với thiết kế màn hình khá lớn, cụm 5 camera sau và kỳ vọng dùng chip Exynos 1080

Samsung Galaxy A82 5G là một trong các mẫu smartphone tầm trung được dự kiến ra mắt vào năm sau. Mới đây, hình ảnh concept về chiếc điện thoại này đã được một nhà thiết kế có tên Oguz Ozturk...

THỦ THUẬT HAY

Cách tạo đồ thị, biểu đồ trong Google Sheets

Google Sheets cũng có tính năng biểu diễn đồ thị, thể hiện số liệu kèm theo đó là những thiết lập để người dùng có thể thay đổi cho biểu đồ.

Giải phóng không gian ổ đĩa cứng tự động trên Windows 10 bằng Disk Cleanup

Disk Cleanup là một trong những công cụ “bảo dưỡng” được tích hợp trên Windows trong một khoảng thời gian dài. Công cụ này cho phép người dùng giải phóng thêm không gian trên máy tính bằng cách “dọn sạch” các tập tin

Tránh người khác rình mò đọc lén thông tin trên smartphone BlackBerry

Ứng dung Privacy Shade sẽ cho người dùng điều chỉnh độ trong suốt bộ lọc màn hình sao cho phù hợp với môi trường xung quanh. Đồng thời thể chọn che đi các phần của màn hình mà người dùng không xem đến, do đó phần màn

Một số nguồn tải tweak và theme chất lượng cho iOS 11

Mặc dù người dùng iOS 11 hiện nay đã có thể sử dụng jailbreak một cách hoàn chỉnh với chợ ứng dụng Cydia. Tuy nhiên, việc lựa chọn nguồn lưu trữ tweak, theme phù hợp cũng rất quan trọng và giúp giảm thiểu tối đa các

Hướng dẫn kiểm tra tình trạng khóa iCloud (Activation Lock) cho iPhone chính xác 99%

Sau khi Apple đóng trang kiểm tra khóa iCloud thì hiện còn một cách khác có thể kiểm tra được cũng ngay trên trang của Apple. Mấy hôm trước mình có thử và không thành công nhưng hôm nay phát hiện ra phải làm thêm một

ĐÁNH GIÁ NHANH

Đánh giá: Tai nghe đậm chất bass ATH-WS550iS của Audio Technica

Solid Bass là dòng sản phẩm tai nghe thiên về âm Bass của Audio Technica, và đầu năm 2016, hãng đã giới thiệu ATH-WS550iS với micro tích hợp để sử dụng kèm với các thiết bị di động. Sản phẩm có kích thước khá lớn, chất

Đánh giá thông số kỹ thuật của xe Hyundai SantaFe 2019

Sau khi được trình làng tại triển lãm ô tô New York, mới đây Hyundai đã công bố mức giá cho mẫu xe SUV Santa Fe thế hệ 2019 từ 25.500 USD (tương đương 584 triệu đồng) tại Hoa Kỳ. So với thế hệ trước đây, mẫu xe được

Đánh giá nhanh Honor 8X: Thiết kế thời trang, chip Kirin 710, camera kép, giá 200 USD

Sau một thời gian rò rỉ, Honor - thương hiệu của Huawei đã chính thức công bố điện thoại mới là Honor 8X cùng Honor 8X Max. Như tên gọi, Honor 8X có kích thước màn hình nhỏ hơn. Mức giá khởi điểm cho điện thoại chỉ từ