Ninja R2 của Kawasaki vừa lộ hình ảnh bản vẽ trên giấy với trang bị động cơ Super-charged 600cc. Đây được xem là phiên bản đàn em của Ninja H2.
Theo đó, thiết kế dạng bản vẽ của Ninja R2 vừa được Kawasaki tiết lộ khi đăng ký bản quyền… các bạn có thể hình dung được ngoại hình của mẫu Ninja R2 này.
So với Ninja H2 thì Ninja R2 có động cơ nhỏ hơn với 600cc, cũng được trang bị bộ Siêu nạp (Super-Charged) với cấu tạo tương tự như Ninja H2, nhưng bộ siêu nạp sẽ nhỏ hơn…. ngoài ra bản vẽ cũng cho thấy Ninja R2 mới sẽ có ống xã (pô) đút đít…. Cùng MotoSaigon soi chi tiết Ninja R2 2017.


Tổng thể thiết kế của Ninja R2 sẽ có nhiều chi tiết sử dụng lại từ mẫu Ninja ZX-6R. Đầu đèn R2 không góc cạnh như mẫu ZX-6R hiện tại, điểm nổi bật là hệ thống ống xã đút dút thể thao. Bộ Siêu nạp sẽ được bố trị nằm gọn dưới bình xăng. Ngoài ra xe cũng được trang bị phuộc Upside Down, ABS v.v…

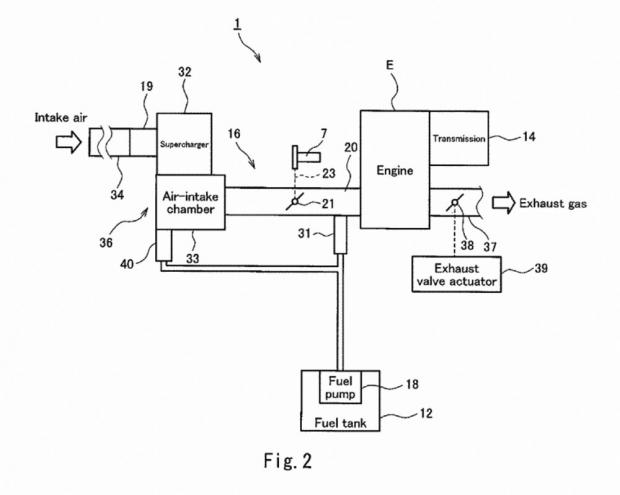
Sơ đồ mô tả cách hoạt động của bộ Super-Charged mới của Ninja R3. nhỏ hơn so với Ninja H2.
Kawasaki vẫn chưa có thông tin công bố chính thức về mẫu Ninja R2 này, và liệu đây sẽ là mẫu xe thay thế cho Ninja ZX-6R hay không?.