Samsung đang phát triển "cảm biến môi trường" cho các thế hệ điện thoại Galaxy kế tiếp

Trang Galaxy Club vừa đăng tải một thông tin từ Văn phòng quản lý sở hữu trí tuệ Hàn Quốc hé lộ khả năng Samsung sẽ tích hợp một loại cảm biến hoàn toàn mới với tên gọi 'Cảm biến môi trường (Environmental Sensor) trên các mẫu smartphone nhãn hiệu Galaxy trong tương lai. 
Samsung đang phát triển "cảm biến môi trường" cho các thế hệ điện thoại Galaxy kế tiếp
Trang Galaxy Club vừa đăng tải một thông tin từ Văn phòng quản lý sở hữu trí tuệ Hàn Quốc hé lộ khả năng Samsung sẽ tích hợp một loại cảm biến hoàn toàn mới với tên gọi 'Cảm biến môi trường (Environmental Sensor) trên các mẫu smartphone nhãn hiệu Galaxy trong tương lai. Cũng theo nguồn tin này, loại cảm biến nói trên hiện đang trong quá trình phát triển với chức năng chính là đo lường chất lượng không khí nhằm cung cấp tới người dùng các thông tin quan trọng liên quan tới môi trường xung quanh.
Tại các thành phố được cho là có mức độ ô nhiễm cao nhất thế giới như Bắc Kinh chẳng hạn, cảm biến môi trường này sẽ là công cụ hữu ích giúp phân tích các điều kiện của không khí và đưa ra các khuyến nghị phù hợp tới người dùng như đề xuất đeo khẩu tran chẳng hạn. Khi đi du lịch ra nước ngoài, cảm biến môi trường cũng sẽ rất hữu ích bởi nó giúp chủ nhân các mẫu smartphone Galaxy có thể xem xét chi tiết chất lượng không khí một cách trực tiếp ngay trên thiết bị để có các biện pháp đối ứng phù hợp.

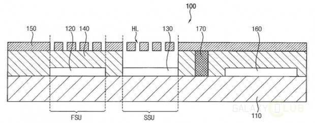
Chú thích các thành phần trong cấu trúc màn hình smartphone mới: 120 và 140 là 2 cảm biến môi trường

Tất nhiên, hiện tại thì cảm biến môi trường mới chỉ đang là mộ công nghệ được Samsung nghiên cứu và theo chia sẻ của Samsung thì kích thước của cảm biến còn rất lớn do vậy họ sẽ cần nỗ lực để thu nhỏ nó lại nhưng đồng thời vẫn phải đảm bảo mật độ đủ dày để đưa ra các kết quả đo đạc chính xác. Chúng ta vẫn cần phải chờ đợi thêm một khoảng thời gian nữa để có thể được chính thức sử dụng và trải nghiệm tính năng mới này.

Theo: SamMobile

 

TIN LIÊN QUAN

Samsung sắp ra mắt 2 mẫu smartphone mới, Galaxy J3 Star và Galaxy J7 Star

Samsung phân loại smartphone của mình thành 3 dòng chính: Galaxy S – smartphone cao cấp, Galaxy A – smartphone tầm trung, Galaxy J – smartphone cấp thấp, giá phải chăng hơn.

Samsung Galaxy F màn hình gập sẽ có RAM 8GB, pin 6.000 mAh

Samsung có thể trở thành hãng điện thoại lớn đầu tiên trên thế giới ra mắt smartphone màn hình uốn dẻo, có thể gập lại – Galaxy F. Từ rất lâu,...

Smartphoen màn hình gập của Samsung sẽ sử dụng cảm biến camera IMX374 mới của Sony

Smartphone màn hình gập của Samsung đang được đồn đại có tên là Galaxy Fold (hoặc Galaxy F), thiết bị này có thể sử dụng cảm biến camera IMX374 mới của Sony.

Smartphone Samsung màn hình gập sẽ thuộc dòng Galaxy F?

Các tin đồn trước đây cho biết ngoài Galaxy S và Galaxy Note thì Samsung đang làm việc trên một loạt smartphone dòng Galaxy F “siêu cao cấp” mới....

Samsung sắp ra mắt Galaxy C5 Pro và Galaxy C7 Pro với cấu hình cao hơn

Đầu năm nay, giới công nghệ phát hiện ra Samsung đang lên kế hoạch phát triển một dòng smartphone hoàn toàn mới dành riêng cho thị trường đông dân nhất thế giới – Trung Quốc....

Samsung chính thức giới thiệu Galaxy A8 Star tại thị trường Việt Nam

Camera kép phía sau 24MP (F/1.7) + 16MP (F/1.7) được tích hợp công nghệ xóa phông chủ động Live Focus cho phép điều chỉnh độ sâu của trường ảnh trước và ngay cả sau khi chụp làm nổi bật chủ thể so với hậu cảnh. Với chế độ Bokeh nghệ thuật, người

Samsung Galaxy On NXT trình làng: Biến thể Galaxy J7 Prime

Thegioididong - Đúng như dự kiến, hôm nay (20/10) Samsung đã chính thức trình làng chiếc smartphone tầm trung với khung vỏ kim loại có tên gọi Galaxy On NXT. Theo...

Samsung sẽ sớm ra mắt smartphone Galaxy M20, Galaxy M30

Hai sản phẩm mới có số model là SM-M205F và SM-M305F, tên gọi lần lượt là Galaxy M20 và Galaxy M30. Dự kiến tên gọi với 2 chữ số như vậy cũng sẽ được dùng cho loạt Galaxy A sắp tới.

THỦ THUẬT HAY

Xoá ‘’sạch sẽ’’ thông báo trên iPhone chỉ sau 2 cú ‘’chạm’’.

Tuy tính năng thông báo là một điều không thể thiếu trên bất kì chiếc smartphone nào, đây là tính năng giúp người dùng cập nhật thông tin nhanh chóng nhất…

6 cách mở Local Group Policy Editor trên Windows 10

Local Group Policy Editor cho phép người dùng kiểm soát tất cả các thiết lập Windows thông qua giao diện người dùng đơn giản, mà không cần phải thông qua Registry. Bài viết này chúng tôi sẽ hướng dẫn bạn 6 cách mở

Tổng hợp phím tắt thông dụng trên Skype

Tuy nhiên, rất nhiều người thường xuyên sử dụng Skype, nhưng lại không hề hay biết Skype cũng hỗ trợ những phím tắt như bao ứng dụng khác, giúp người dùng thao tác nhanh hơn, thuận tiện hơn.

Xe tải mất lái, rơi xuống đáy vực sâu hư hỏng nặng, tài xế may mắn thoát chết

Vụ tai nạn ghi nhận xảy ra vào chiều ngày 9 tháng 5 tại xã Xuân Hòa, huyện Bảo Yên, tỉnh Lào Cai. Cụ thể vào thời điểm trên, một xe tải (hiện chưa rõ BKS) đang lưu thông trên Quốc lộ 279, Khi xe di chuyển đến đoạn

8 mẹo hay xử lý cột trong Microsoft Word

Việc chuyển văn bản và ảnh thành dạng cột là một cách làm để cho tài liệu của bạn dễ đọc hơn và phù hợp với nội dung nếu tài liệu chỉ có một trang duy nhất. 8 mẹo sau đây giúp bạn tạo cột một cách nhanh chóng đồng thời

ĐÁNH GIÁ NHANH

Trên tay Samsung Galaxy S20 FE: hiệu năng ổn định, camera hỗ trợ AI, màn hình 120Hz, giá bán 15.990.000 đồng

Sau đoạn video được tiết lộ trên mạng xã hội, tiếp tục những hình ảnh trên tay Samsung Galaxy S20 FE cũng rần rần xuất hiện làm xốn xang trong cộng đồng người hâm mộ. Những hình ảnh này đã phản ánh tương đối đầy đủ các

So sánh OPPO A93 và Reno4: giá bán chênh 1 triệu đồng có tạo nên sự khác biệt lớn?

Hãy cùng chúng tôi theo dõi các so sánh OPPO A93 và Reno4 dưới đây để xem smartphone nào của OPPO có thể tạo nên lợi thế cạnh tranh nhé. Chiếc điện thoại mới ra mắt A93 nhà OPPO được kì vọng sẽ “làm mưa làm gió’ trong

Cải thiện camera Redmi Note 12 so với Redmi Note 11 có đáng bỏ tiền mua

Camera Redmi Note 11 được đánh giá là cực phẩm để sống ảo, nên khi vừa ra mắt Redmi Note 12 rất nhiều người dùng chờ đợi một sự đột phá vượt bậc. Vậy có sự đột phá nào trên siêu phẩm mới nhà Xiaomi không hay là một sự